授权公布号:CN219283971U
一种上引炉打包料加料装置
有效
申请
2022-12-26
申请公布
1970-01-01
授权
2023-06-30
预估到期
2032-12-26
| 申请号 | CN202223531043.1 |
| 申请日 | 2022-12-26 |
| 授权公布号 | CN219283971U |
| 授权公告日 | 2023-06-30 |
| 分类号 | F27D3/00 |
| 分类 | 炉;窑;烘烤炉;蒸馏炉〔4〕; |
| 申请人名称 | 浙江海亮股份有限公司 |
| 申请人地址 | 浙江省绍兴市诸暨市店口镇中央路198号 |
专利法律状态
2023-06-30
授权
状态信息
授权
摘要
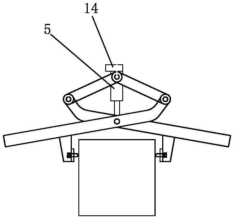
本实用新型涉及一种上引炉打包料加料装置,包括上引炉,设置于上引炉侧边的送料机构,以及设置于送料机构上的加料夹具,所述加料夹具上设有自动夹紧机构,当加料夹具靠近炉口自动释放打料包,所述自动夹紧机构包括设置于加料夹具上的驱动气缸,设置于驱动气缸上的控制器,以及设置于上引炉开口上的夹具感应器。本实用新型通过加料夹具并配合悬臂吊机和电动葫芦进行对上引炉进行加料,可以水平旋转,也可以竖直提升和下降,替代人工操作,可远离炉口加料,避免人工操作时被铜液溅到,提高操作的安全性。


