授权公布号:CN219178288U
适用于上引炉的加料工具
有效
申请
2022-12-26
申请公布
1970-01-01
授权
2023-06-13
预估到期
2032-12-26
| 申请号 | CN202223487058.2 |
| 申请日 | 2022-12-26 |
| 授权公布号 | CN219178288U |
| 授权公告日 | 2023-06-13 |
| 分类号 | F27D3/00 |
| 分类 | 炉;窑;烘烤炉;蒸馏炉〔4〕; |
| 申请人名称 | 浙江海亮股份有限公司 |
| 申请人地址 | 浙江省绍兴市诸暨市店口镇中央路198号 |
专利法律状态
2023-06-13
授权
状态信息
授权
摘要
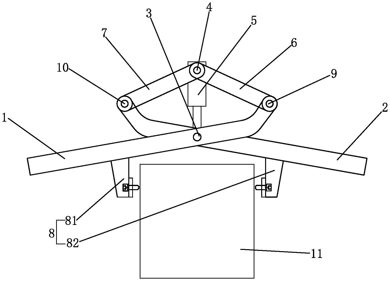
本实用新型涉及一种适用于上引炉的加料工具,包括第一连杆机构和第二连杆机构,所述第一连杆机构和第二连杆机构中部通过第一铰接件连接,所述第一连杆机构和第二连杆机构一端通过第二铰接件连接,所述第一连杆机构和第二连杆机构的另一端设有夹持件,所述第一铰接件与第二铰接件之间设有用于调节夹持件开口大小的调节气缸。本实用新型可远离炉口加料,避免人工操作时被铜液溅到,提高操作的安全性。


