授权公布号:CN207026130U
螺旋缝埋弧焊管钢卷断裂对头导引装置
有效
申请
2017-08-14
申请公布
1970-01-01
授权
2018-02-23
预估到期
2027-08-14
| 申请号 | CN201721017554.8 |
| 申请日 | 2017-08-14 |
| 授权公布号 | CN207026130U |
| 授权公告日 | 2018-02-23 |
| 分类号 | B21B33/00;B21B39/00 |
| 分类 | 基本上无切削的金属机械加工;金属冲压; |
| 申请人名称 | 山东胜利钢管有限公司 |
| 申请人地址 | 山东省淄博市张店区中埠镇 |
专利法律状态
2018-02-23
授权
状态信息
授权
摘要
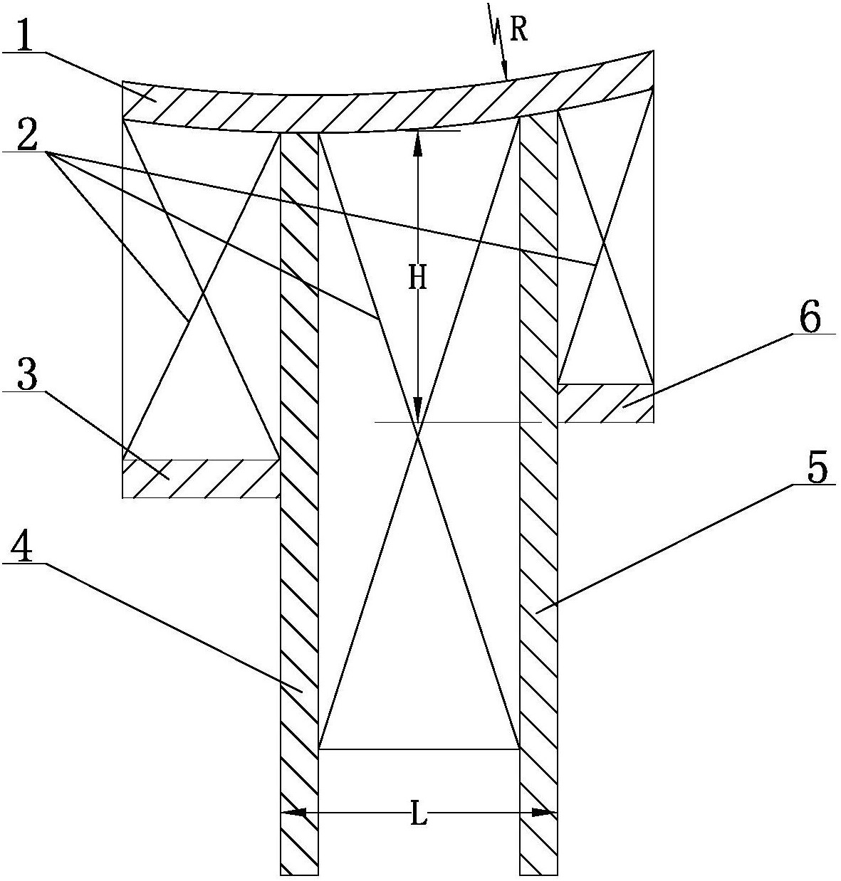
本实用新型用于螺旋缝埋弧焊管钢管生产,具体涉及一种螺旋缝埋弧焊管钢卷断裂对头导引装置,其包括圆弧形导引板、左右两竖直支撑板和左右两水平支撑板,两竖直支撑板固定在圆弧形导引板下方,左竖直支撑板的左侧固定左水平支撑板,右竖直支撑板的右侧固定右水平支撑板。本实用新型结构设计简单合理,通过本导引装置能够对断裂对头进行事后处理,在对头开裂时保护成型器,即便对头断裂在成型器内,也可以使其安全通过成型器,不致损坏设备或影响生产的连续性,从而提高对头开裂后的生产调整效率,确保正常生产。


