授权公布号:CN214503416U
辅助放置射线探伤用标记袋的机械装置
有效
申请
2021-03-29
申请公布
1970-01-01
授权
2021-10-26
预估到期
2031-03-29
| 申请号 | CN202120625394.5 |
| 申请日 | 2021-03-29 |
| 授权公布号 | CN214503416U |
| 授权公告日 | 2021-10-26 |
| 分类号 | G01N23/04 |
| 分类 | 测量;测试; |
| 申请人名称 | 山东胜利钢管有限公司 |
| 申请人地址 | 山东省淄博市张店区中埠镇胜利路8号 |
专利法律状态
2021-10-26
授权
状态信息
授权
摘要
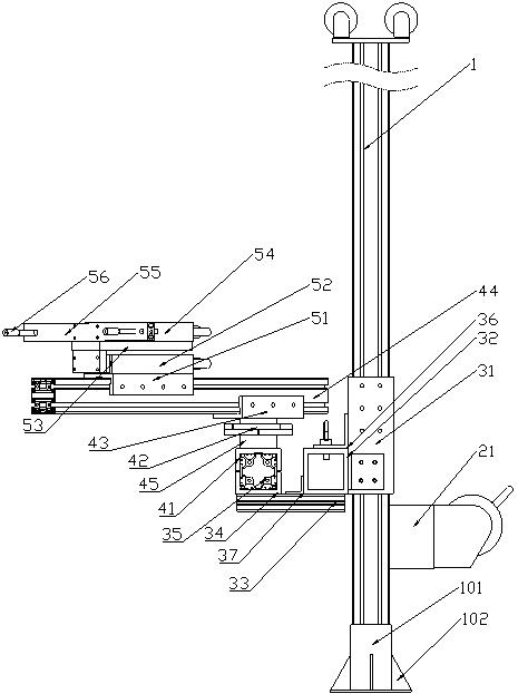
本实用新型公开了一种辅助放置射线探伤用标记袋的机械装置,包括两个完全相同的机械单元,机械单元包括竖向设置的立柱和固定在立柱上的升降机构和横移机构,横移机构的上方依次固定有转动机构和标记袋放置机构,立柱为竖向设置的铝合金型材,立柱的底端连接有用于固定立柱的底座,底座为内部空腔与立柱尺寸匹配的上下两端敞口的空心长方体。本机械装置能完成从小管径到大管径所用标记袋放置的适应性调整,比如针对从φ325‑φ2020钢管的管径调整,当然钢管管径也可以更小或更大;本机械装置使用中通过对横移机构和转动机构的调整,能实现标记袋放置后,焊缝位于标记袋宽度中心线上,标记袋的长度方向与焊缝长度方向一致。


