授权公布号:CN207307422U
等离子烟尘回收自动倒灰装置及等离子烟尘回收装置
有效
申请
2017-08-14
申请公布
1970-01-01
授权
2018-05-04
预估到期
2027-08-14
| 申请号 | CN201721018040.4 |
| 申请日 | 2017-08-14 |
| 授权公布号 | CN207307422U |
| 授权公告日 | 2018-05-04 |
| 分类号 | B01D46/00;B01D46/48;B23K10/00;B23K37/00 |
| 分类 | 一般的物理或化学的方法或装置; |
| 申请人名称 | 山东胜利钢管有限公司 |
| 申请人地址 | 山东省淄博市张店区中埠镇 |
专利法律状态
2018-05-04
授权
状态信息
授权
摘要
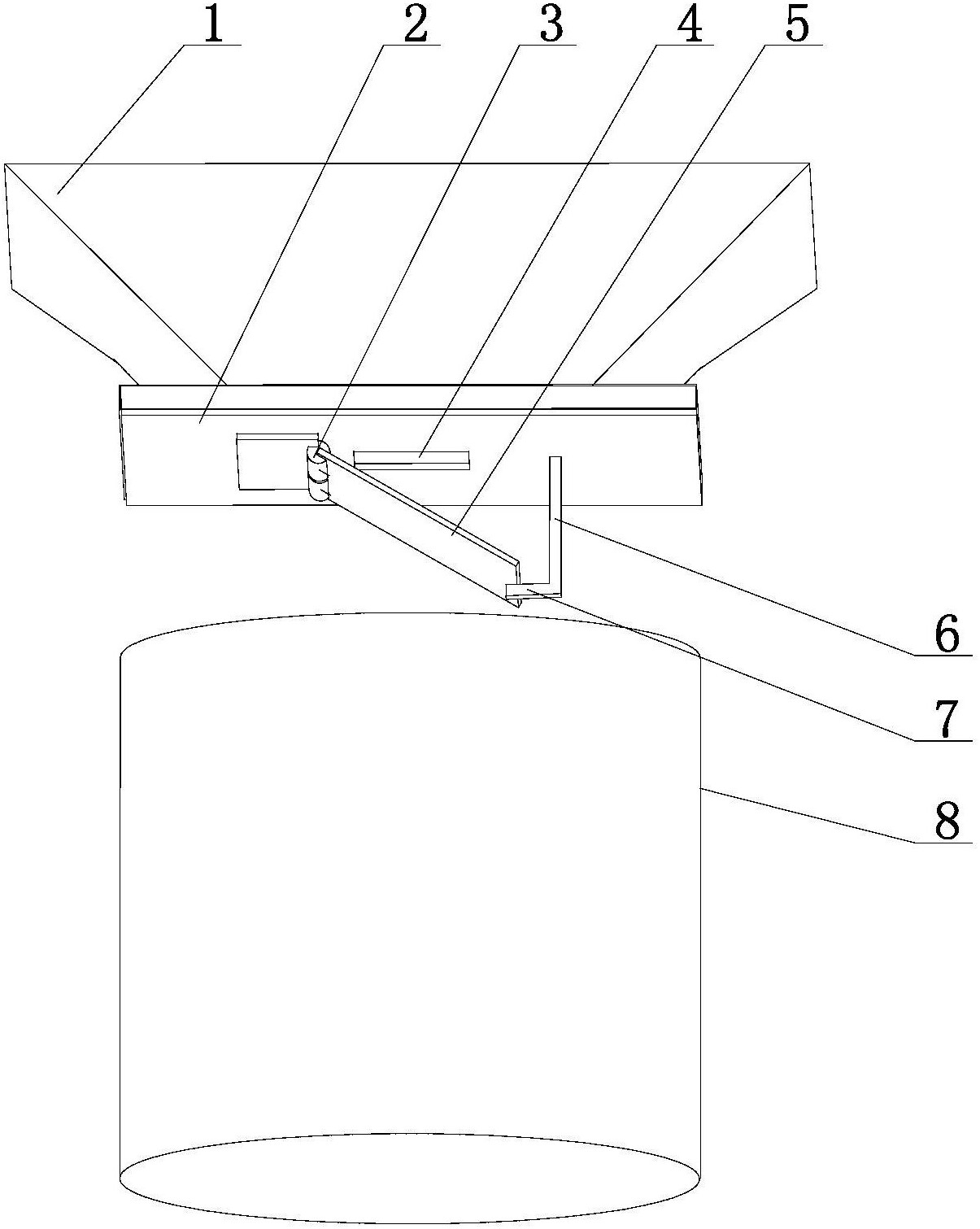
本实用新型属于烟尘回收设备领域,具体涉及等离子烟尘回收自动倒灰装置以及具有该自动倒灰装置的等离子烟尘回收装置。在实际应用过程中,等离子烟尘回收自动倒灰装置凭借其所在的烟尘回收装置在吸收烟尘时内部产生的负压将活动倒灰翻板吸在灰桶固定板上,将倒灰口封堵,从而能够使滤芯所在过滤腔密闭,确保良好的净化效果,并延长滤芯的使用寿命,烟尘回收装置关闭后,负压作用消失,倒灰口敞开,滤芯上吹落的灰尘自动落入灰桶中,即自动进行清灰工作,一方面,整个倒灰操作可在系统运行时进行,无需刻意停机,倒灰方便,从而提高了烟尘回收装置的吸烟效率;另一方面,无需人工手动操作,避免了传统倒灰过程中灰尘对操作人员的伤害。


