授权公布号:CN207013480U
螺旋焊管开卷机铲刀防护装置
有效
申请
2017-08-14
申请公布
1970-01-01
授权
2018-02-16
预估到期
2027-08-14
| 申请号 | CN201721017817.5 |
| 申请日 | 2017-08-14 |
| 授权公布号 | CN207013480U |
| 授权公告日 | 2018-02-16 |
| 分类号 | B21C47/18 |
| 分类 | 基本上无切削的金属机械加工;金属冲压; |
| 申请人名称 | 山东胜利钢管有限公司 |
| 申请人地址 | 山东省淄博市张店区中埠镇 |
专利法律状态
2018-02-16
授权
状态信息
授权
摘要
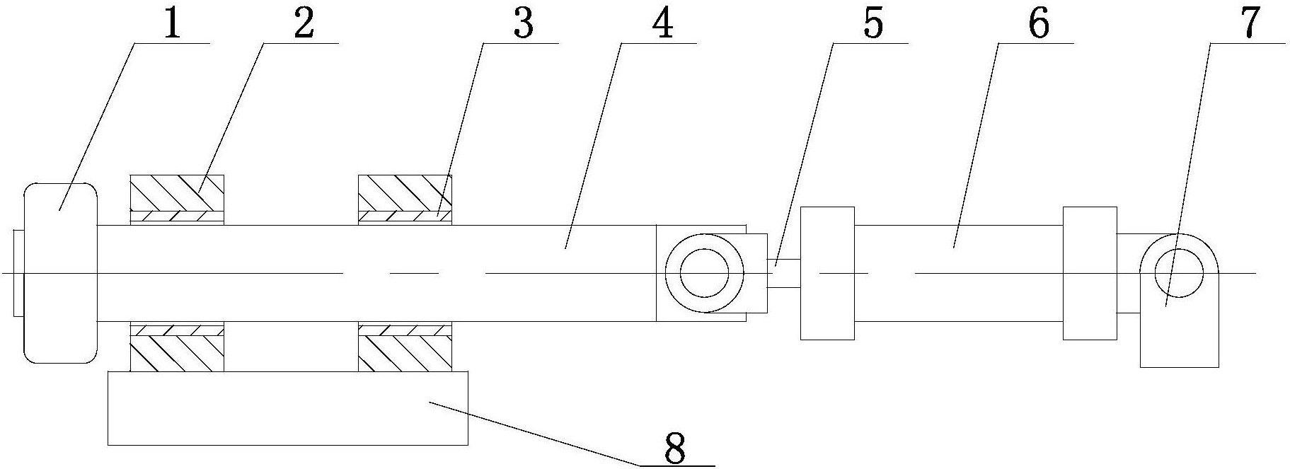
本实用新型用于螺旋缝埋弧焊管钢管的生产,具体涉及一种螺旋焊管开卷机铲刀防护装置,其包括一组或者左右对称的两组防护单元,每组防护单元包括辊轮、连接轴、驱动油缸和油缸座,油缸座安装在开卷机机架的铲刀侧(即开卷机机架正对铲刀的一侧),驱动油缸的缸体安装在油缸座上,连接轴水平安装在驱动油缸的活塞杆上,对应连接轴设置有连接轴支撑装置,辊轮通过轴承安装在连接轴的外端;活塞杆伸出时,可以推动连接轴及辊轮行至开卷机的带钢钢卷下方。本实用新型结构设计简单合理,通过辊轮能够缩短带钢板尾反弹半径,避开弹开的板尾与铲刀间的接触,消除板尾对铲刀冲击力,降低了铲刀装置的故障率,从而提高了整个开卷机机组的作业率。


