授权公布号:CN217297979U
一种镀锌管端部吹扫装置
有效
申请
2021-10-14
申请公布
1970-01-01
授权
2022-08-26
预估到期
2031-10-14
| 申请号 | CN202122474199.X |
| 申请日 | 2021-10-14 |
| 授权公布号 | CN217297979U |
| 授权公告日 | 2022-08-26 |
| 分类号 | C23C2/06;C23C2/18 |
| 分类 | 对金属材料的镀覆;用金属材料对材料的镀覆;表面化学处理;金属材料的扩散处理;真空蒸发法、溅射法、离子注入法或化学气相沉积法的一般镀覆;金属材料腐蚀或积垢的一般抑制〔2〕; |
| 申请人名称 | 浙江金洲管道科技股份有限公司 |
| 申请人地址 | 浙江省湖州市吴兴区东门十五里牌(318国道旁) |
专利法律状态
2022-08-26
授权
状态信息
授权
摘要
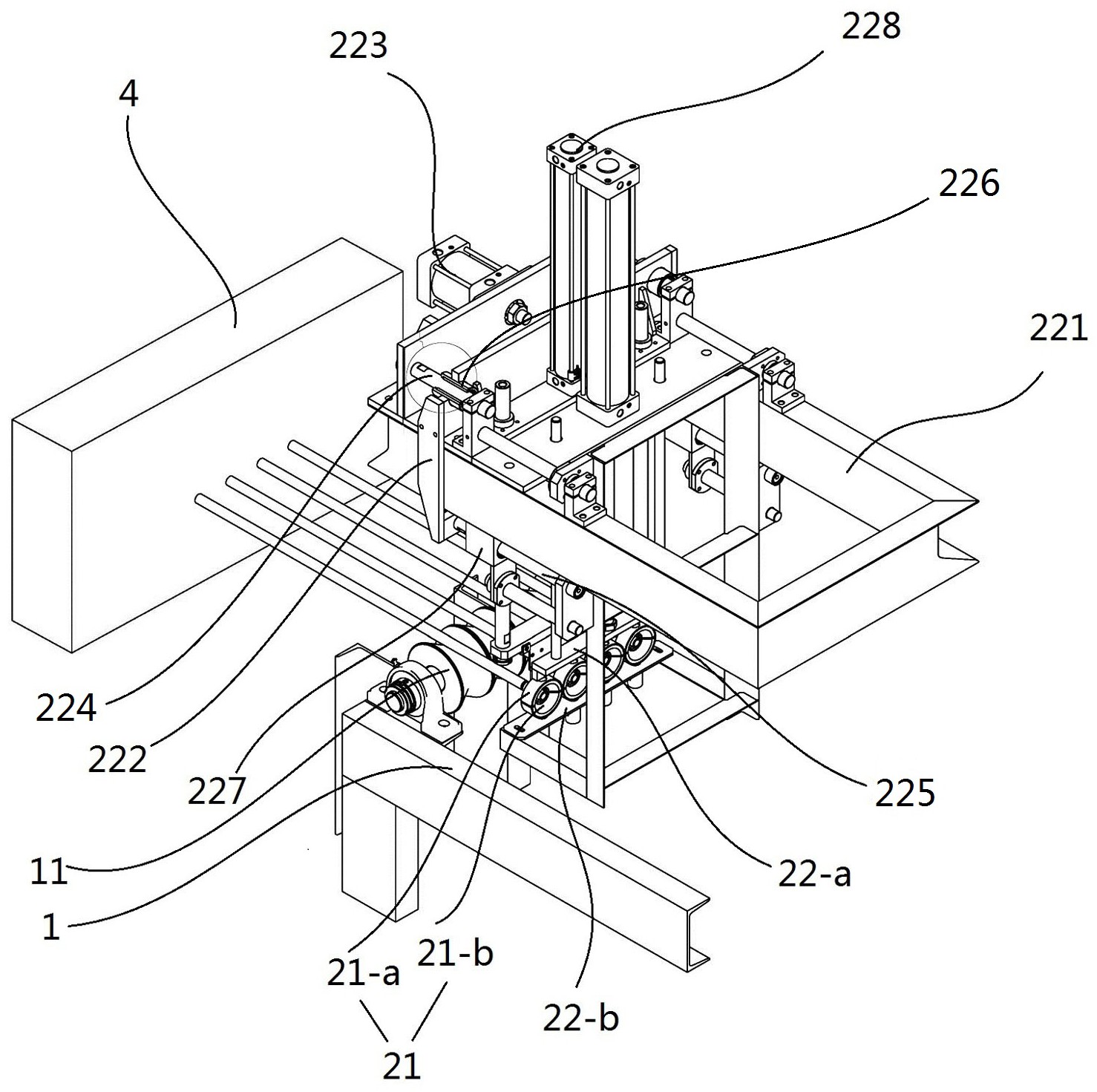
一种镀锌管端部吹扫装置,涉及镀锌管生产制造技术领域,包括有:机架,用于放置并支撑镀锌管,同时为各功能结构提供连接基体;内吹机构,设置于所述机架的一侧,用于抵住镀锌管吹入端的开口,从所述吹入端向镀锌管内部输送气流,将残留的镀锌液从镀锌管的吹出端吹出;管端吹扫机构,设置于所述机架上位于所述内吹机构的相对侧,所述管端吹扫机构用于吹扫残留在所述吹出端的毒性也,所述管端吹扫机构通过气流将残留镀锌液从所述吹出端上吹落。本实施例新型对高压气体吹过内壁的镀锌管进一步的清理,在镀锌管锌液的喷出端通过管端吹扫机构进行处理,吹落多余的锌液,提高镀锌管成型质量。


