授权公布号:CN106903868B
一种法兰盘内衬管翻边装置
有效
申请
2017-05-03
申请公布
2017-06-30
授权
2023-01-31
预估到期
2037-05-03
| 申请号 | CN201710304053.6 |
| 申请日 | 2017-05-03 |
| 申请公布号 | CN106903868A |
| 申请公布日 | 2017-06-30 |
| 授权公布号 | CN106903868B |
| 授权公告日 | 2023-01-31 |
| 分类号 | B29C57/00 |
| 分类 | 塑料的加工;一般处于塑性状态物质的加工; |
| 申请人名称 | 浙江金洲管道科技股份有限公司 |
| 申请人地址 | 浙江省湖州市吴兴区东门十五里牌(318国道旁) |
专利法律状态
2023-01-31
授权
状态信息
授权
2017-06-30
公布
状态信息
公布
摘要
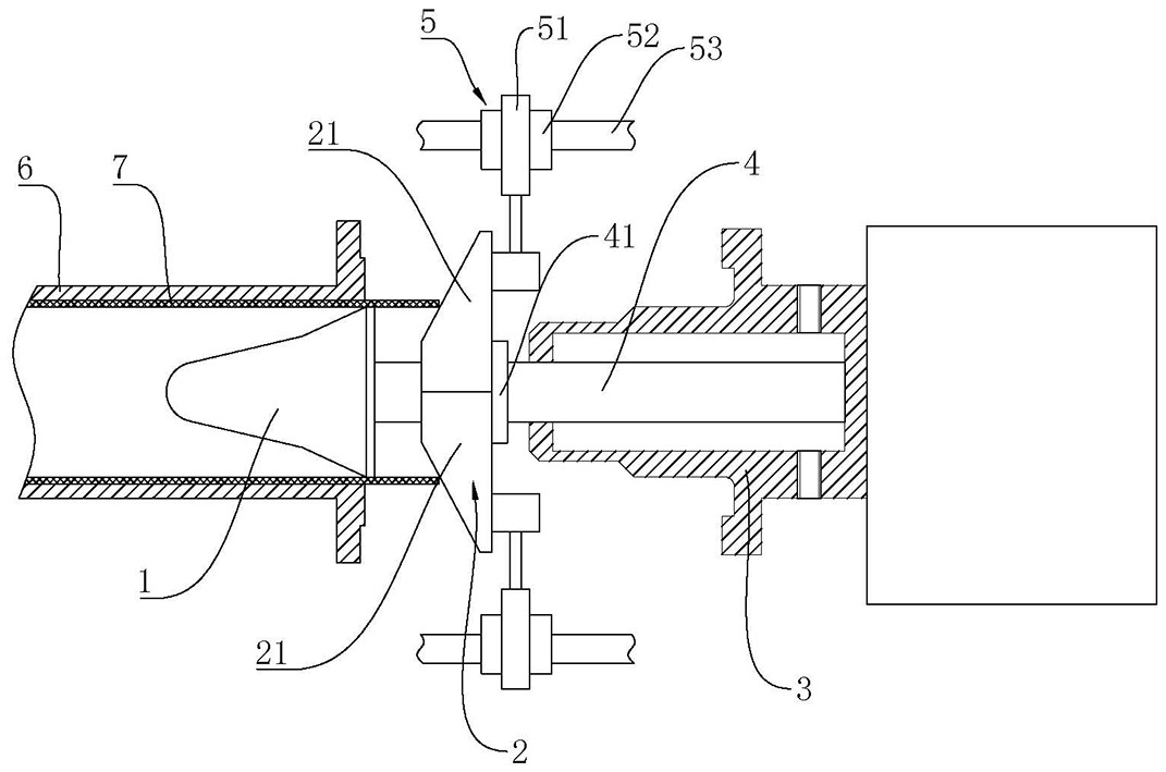
本发明涉及钢塑复合管翻边设备技术领域,具体为一种法兰盘内衬管翻边装置,包括支柱、第一扩口模具、第二扩口模具、翻边模具和中频感应加热线圈,所述第一扩口模具设有电热丝,所述电热丝加热所述第一扩口模具使内衬管在与法兰盘端面的相交处软化,所述第二扩口模具为分体式结构,包括上模和下模,所述上模和所述下模分别连接有控制其组合或分离的升降组件,所述中频感应加热线圈设置在所述翻边模具的外圆并随所述翻边模具同步移动。本发明能够简化翻边工序,提高生产效率,能够对内衬管与法兰盘的相交处预先进行加热软化,使内衬管扩口时能够在软化处比其他部位率先弯曲,形成稳定的喇叭口,大大提高了翻边的成功率。


