授权公布号:CN106946196B
一种管件双向升降移载机
有效
申请
2017-05-03
申请公布
2017-07-14
授权
2022-09-23
预估到期
2037-05-03
| 申请号 | CN201710304275.8 |
| 申请日 | 2017-05-03 |
| 申请公布号 | CN106946196A |
| 申请公布日 | 2017-07-14 |
| 授权公布号 | CN106946196B |
| 授权公告日 | 2022-09-23 |
| 分类号 | B66F19/00;B66F7/14;B66F3/44;B66F3/46 |
| 分类 | 卷扬;提升;牵引; |
| 申请人名称 | 浙江金洲管道科技股份有限公司 |
| 申请人地址 | 浙江省湖州市吴兴区东门十五里牌(318国道旁) |
专利法律状态
2022-09-23
授权
状态信息
授权
2017-07-14
公布
状态信息
公布
摘要
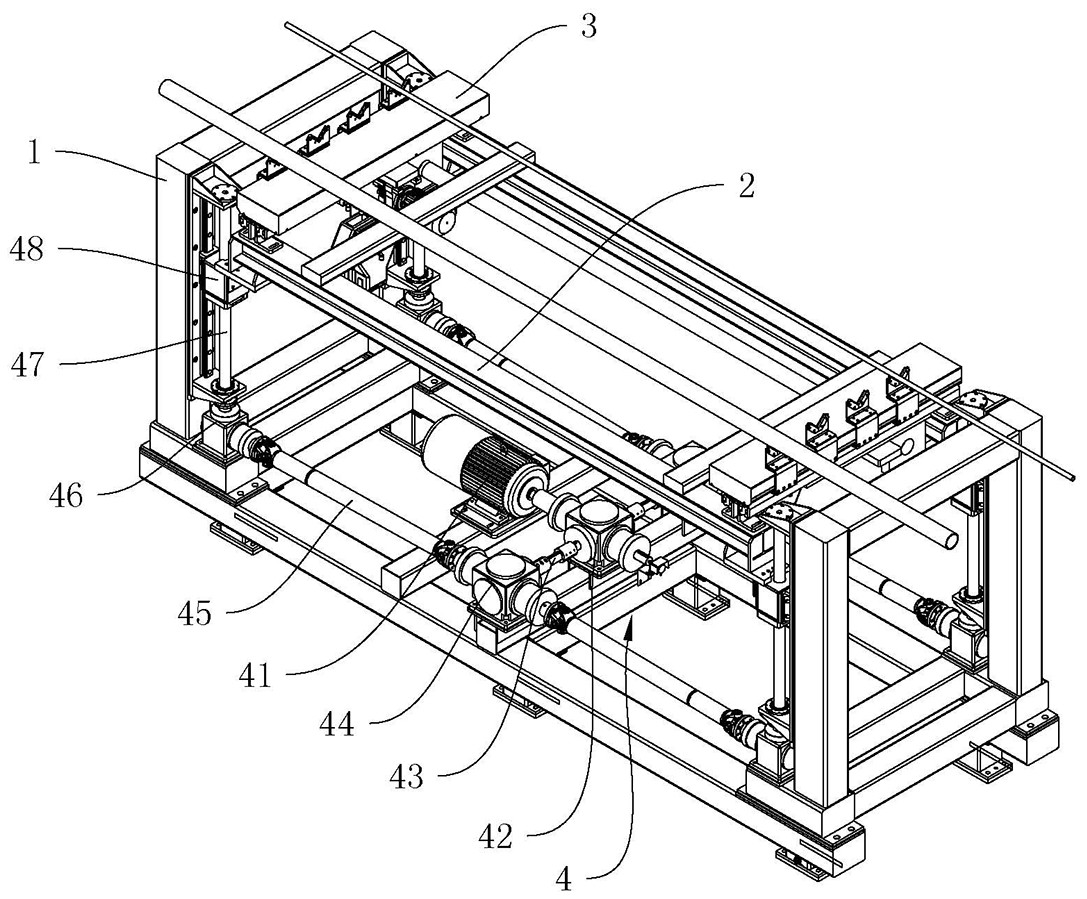
本发明涉及移载机技术领域,具体为一种管件双向升降移载机,包括机架、升降台以及至少两组货叉组件,所述升降台通过升降组件安装在所述机架上并沿所述机架上下移动,所述货叉组件包括一级货叉、二级货叉和三级货叉,所述一级货叉固定安装在所述升降台上,所述二级货叉通过一级平移机构沿所述一级货叉左右移动,所述三级货叉通过二级平移机构沿所述二级货叉左右移动,所述一级货叉所述与所述二级货叉保持同向且同步移动。本发明通过设置叠层结构的货叉组件,大大提高了移载行程,减小了移载机的宽度,提高了移载速度,缩短了移载时间,而且货叉移载平稳、定位精度高,使用寿命长。


