授权公布号:CN217540982U
通风系统支路用恒风量通风器
有效
申请
2021-08-23
申请公布
1970-01-01
授权
2022-10-04
预估到期
2031-08-23
| 申请号 | CN202121985781.6 |
| 申请日 | 2021-08-23 |
| 授权公布号 | CN217540982U |
| 授权公告日 | 2022-10-04 |
| 分类号 | F24F7/06;F24F11/75;F24F11/89;F24F110/40N |
| 分类 | 供热;炉灶;通风; |
| 申请人名称 | 重庆海润节能技术股份有限公司 |
| 申请人地址 | 重庆市北部新区高新园黄山大道中段9号(木星科技大厦厂房2区2层2号) |
专利法律状态
2022-10-04
授权
状态信息
授权
摘要
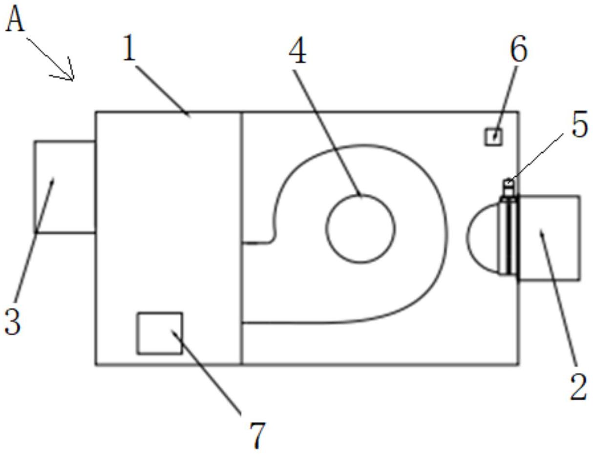
本实用新型公开了一种通风系统支路用恒风量通风器,包括新风通风器和排风通风器,两者均包括壳体、进风口、出风口、风机、电动风阀、压力传感器和控制器,所述风机安装在壳体内,新风通风器的电动风阀安装在进风口,排风通风器的电动风阀安装在出风口,压力传感器位于电动风阀和风机之间,所述控制器与电动风阀、压力传感器电连接,电动风阀能调节角度开合。风阀可根据压力传感器数据信号自动调整开合角度,调整本支路的风压范围,从而避免主管路风压过大时,影响支路风机的恒风量运行,以抵抗管路大风压对支路通风器的影响,具有构思新颖、设计巧妙、易于推广的特点。


