授权公布号:CN110882790B
一种挤压研磨式厨余垃圾磨浆机及其磨浆方法
有效
申请
2019-11-11
申请公布
2020-03-17
授权
2023-05-16
预估到期
2039-11-11
| 申请号 | CN201911097292.4 |
| 申请日 | 2019-11-11 |
| 申请公布号 | CN110882790A |
| 申请公布日 | 2020-03-17 |
| 授权公布号 | CN110882790B |
| 授权公告日 | 2023-05-16 |
| 分类号 | B02C21/00;B02C23/02;B02C18/12;B02C18/18;B02C18/24;B02C7/08;B02C7/16;B02C7/12 |
| 分类 | 破碎、磨粉或粉碎;谷物碾磨的预处理; |
| 申请人名称 | 宁波东大空调设备有限公司 |
| 申请人地址 | 浙江省宁波市余姚市泗门镇泗北工业区宁波东大空调设备有限公司 |
专利法律状态
2023-05-16
授权
状态信息
授权
2020-03-17
公布
状态信息
公布
摘要
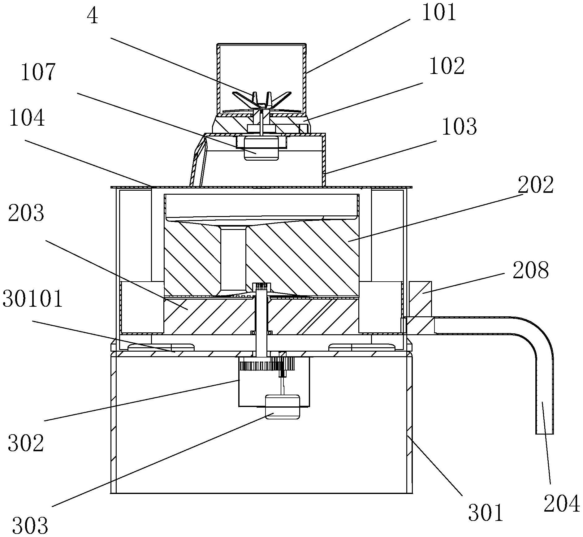
一种挤压研磨式厨余垃圾磨浆机及其磨浆方法,属于垃圾处理技术领域,包括搅拌粉碎器、磨浆器装置和磨浆器装置的动力系统;搅拌粉碎器包括搅拌粉碎筒、搅拌筒座、搅拌电机箱、放置板、排糊管和排糊电磁阀;磨浆器装置包括蓄浆盘、上磨盘、下磨盘、排浆管和排浆电磁阀;动力系统包括减速箱安装座、减速箱和磨浆电机;本发明的有益效果是:挤压粉碎处理后垃圾颗粒物小,厨余垃圾磨浆机结构简单,粉碎效率高。


