授权公布号:CN215699474U
一种将零件旋转到任意指定角度的机构
有效
申请
2021-09-24
申请公布
1970-01-01
授权
2022-02-01
预估到期
2031-09-24
| 申请号 | CN202122316353.0 |
| 申请日 | 2021-09-24 |
| 授权公布号 | CN215699474U |
| 授权公告日 | 2022-02-01 |
| 分类号 | B23P19/00 |
| 分类 | 机床;不包含在其他类目中的金属加工; |
| 申请人名称 | 摩恩(常熟)厨卫制品有限公司 |
| 申请人地址 | 江苏省苏州市常熟市东南街道银河路139号 |
专利法律状态
2022-02-01
授权
状态信息
授权
摘要
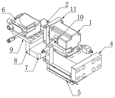
本实用新型公开了一种将零件旋转到任意指定角度的机构,具体涉及龙头阀芯自动化组装技术领域,包括伺服电机,所述伺服电机输出端设置有零件固定底座,所述零件固定底座顶部设置有零件本体,所述伺服电机一侧设置有底座固定块,所述底座固定块一侧设置有旋转气缸,所述底座固定块顶部设置有传感器。本实用新型通过设置自动化运作的方式,实现找到零件固定起始位置,并旋转到任意指定角度位置,现有技术通过人工进行大概角度范围判断的方式相比较,本设备在使用时整个过程标准化、精确度高、稳定可控,从而使得本设备的实用性得到了明显的提升。


