授权公布号:CN216398629U
一种可以旋转任意角度抓取物体的机构
有效
申请
2021-10-15
申请公布
1970-01-01
授权
2022-04-29
预估到期
2031-10-15
| 申请号 | CN202122484436.0 |
| 申请日 | 2021-10-15 |
| 授权公布号 | CN216398629U |
| 授权公告日 | 2022-04-29 |
| 分类号 | B23P19/00;B25J9/12;B25J9/14 |
| 分类 | 机床;不包含在其他类目中的金属加工; |
| 申请人名称 | 摩恩(常熟)厨卫制品有限公司 |
| 申请人地址 | 江苏省苏州市常熟市东南街道银河路139号 |
专利法律状态
2022-04-29
授权
状态信息
授权
摘要
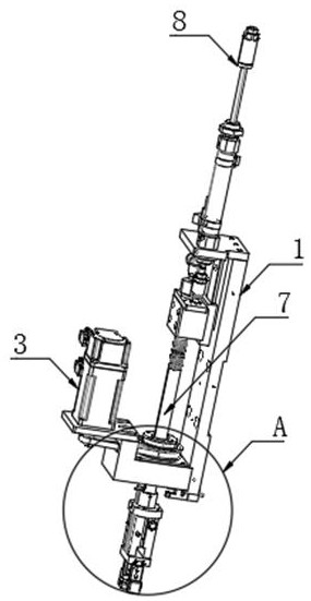
本实用新型公开了一种可以旋转任意角度抓取物体的机构,具体涉及龙头阀芯自动化组装技术领域,包括固定背板,所述固定背板一侧设置有固定座,所述固定座一侧开设有第一通孔,所述固定座底部开设有第二通孔,所述固定座顶部设置有伺服电机,所述伺服电机输出端通过第一皮带连接有皮带轮,所述皮带轮与固定座顶部相连接。本实用新型通过伺服电机、第一皮带、皮带轮、花键轴套、第一花键轴、下压气缸与夹爪气缸的相互配合,使得本设备能够实现自动化操作,与现有的通过人工拿取零件的技术相比较,本设备使用的过程标准化好、精确度高、稳定可控,因此使得本设备的实用性得到了提升。


