授权公布号:CN220646092U
一种发电机构、出水装置和浴室柜
有效
申请
2023-06-12
申请公布
1970-01-01
授权
2024-03-22
预估到期
2033-06-12
| 申请号 | CN202321488798.X |
| 申请日 | 2023-06-12 |
| 授权公布号 | CN220646092U |
| 授权公告日 | 2024-03-22 |
| 分类号 | F03B13/00;A47B67/00;A47K1/02;H02K7/18 |
| 分类 | 液力机械或液力发动机;风力、弹力或重力发动机;不包含在其他类目中的产生机械动力或反推力的发动机; |
| 申请人名称 | 九牧厨卫股份有限公司 |
| 申请人地址 | 福建省泉州市南安经济开发区九牧工业园 |
专利法律状态
2024-03-22
授权
状态信息
授权
摘要
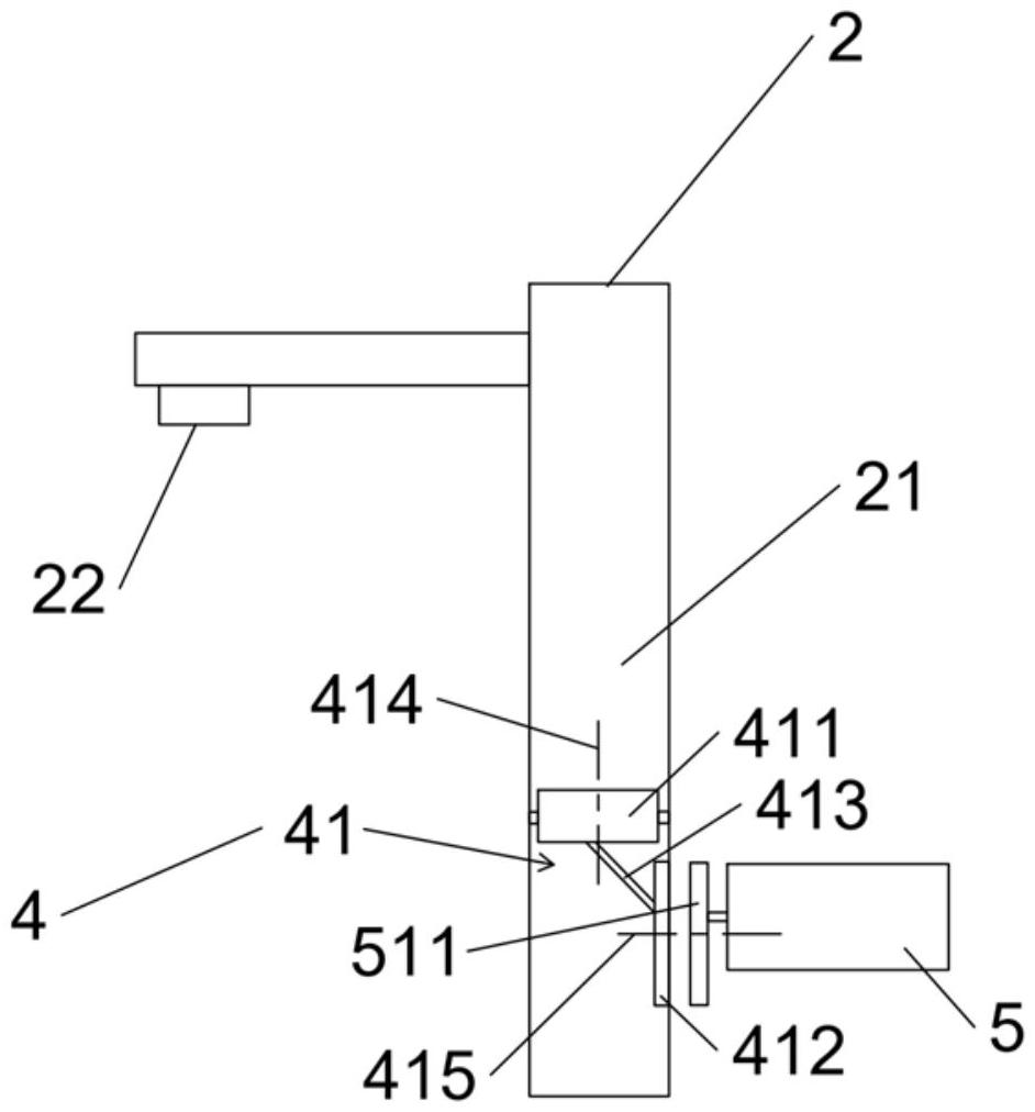
本实用新型公开了一种发电机构、出水装置和浴室柜,发电机构设置于一出水装置上,出水装置包括过水腔,发电机构包括水力驱动装置和发电装置;水力驱动装置包括转动组件和动力输出部;转动组件设置于出水装置的过水腔内,并被配置为在过水腔过水时受水力驱动转动;动力输出部设于转动组件上;发电装置用于为过水腔外的电子元件供电,发电装置包括从动组件和动力输入部;从动组件位于过水腔外;动力输入部设于从动组件上;动力输入部响应于动力输出部的转动,驱使从动组件转动以做切割磁感线运动,以给电子元件供电。该浴室柜能够自主发电,不需要外接市电或使用干电池供电。


