授权公布号:CN218845254U
一种新型高效滤水龙头
有效
申请
2022-12-01
申请公布
1970-01-01
授权
2023-04-11
预估到期
2032-12-01
| 申请号 | CN202223231761.7 |
| 申请日 | 2022-12-01 |
| 授权公布号 | CN218845254U |
| 授权公告日 | 2023-04-11 |
| 分类号 | F16K27/00;B01D35/04;E03C1/02;E03C1/084 |
| 分类 | 工程元件或部件;为产生和保持机器或设备的有效运行的一般措施;一般绝热; |
| 申请人名称 | 埃飞灵卫浴科技集团有限公司 |
| 申请人地址 | 浙江省台州市路桥区新桥镇纬六路 |
专利法律状态
2023-04-11
授权
状态信息
授权
摘要
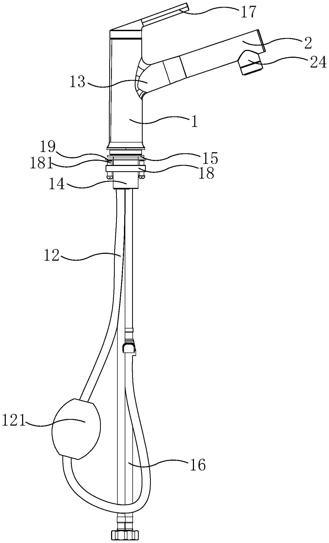
本实用新型公开了一种新型高效滤水龙头,包括主体,主体内部设有阀芯,所述阀芯用于与进水管连通,所述阀芯上设有用于通出水的软管,所述主体上设有出水管,所述出水管上开有进水口和出水口,所述软管穿入进水口与出水管固定连接,所述主体与出水管可拆卸连接,所述软管能够随着出水管拉出,所述主体上开有插接槽,所述出水管靠近主体的一端插接入主体的插接槽内。能够实现水龙头与花洒的两用,提高了清洗时的便利度,也提高了适用范围。


