授权公布号:CN218139986U
一种复合刮条定位复合焊接裁剪的自动化设备
有效
申请
2022-07-08
申请公布
1970-01-01
授权
2022-12-27
预估到期
2032-07-08
| 申请号 | CN202221761358.2 |
| 申请日 | 2022-07-08 |
| 授权公布号 | CN218139986U |
| 授权公告日 | 2022-12-27 |
| 分类号 | B29C65/74;B29C65/78 |
| 分类 | 塑料的加工;一般处于塑性状态物质的加工; |
| 申请人名称 | 金华春光橡塑科技股份有限公司 |
| 申请人地址 | 浙江省金华市安文路420号 |
专利法律状态
2022-12-27
授权
状态信息
授权
摘要
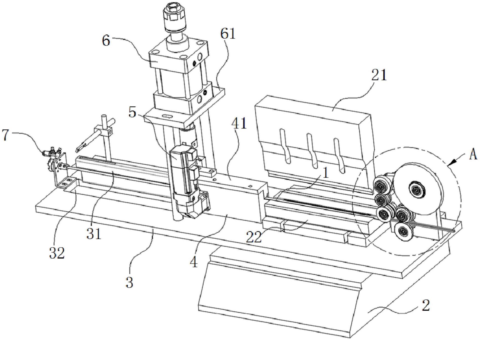
本实用新型公开了一种复合刮条定位复合焊接裁剪的自动化设备,包括高周波焊模机构,还包括输送机构以及沿输送机构输送方向依次布置的:绕布轮组,绕布轮组包括主布轮以及贴布轮,主布轮上设置有编织物布盘,并通过贴布轮导向以使编织布与输送机构输送的主刮条表面贴合,其中:高周波焊模机构用于使编织布依附于主刮条表面;切割组件,切割组件包括主气缸以及安装于主气缸输出端的切割刀,切割刀受主气缸驱动以对依附有编织布的主刮条进行裁切。该实用新型提供的自动化设备,通过编织物布盘与主刮条表面贴合,高周波焊模机构进行焊接,切割刀受主气缸驱动以对依附有编织布的主刮条进行裁切,以实现自动化生产。


