授权公布号:CN216479409U
一种挤出软管及其工装
有效
申请
2021-08-11
申请公布
1970-01-01
授权
2022-05-10
预估到期
2031-08-11
| 申请号 | CN202121866855.4 |
| 申请日 | 2021-08-11 |
| 授权公布号 | CN216479409U |
| 授权公告日 | 2022-05-10 |
| 分类号 | F16L11/15;F16L55/02;B29C69/02;B29L23/18N |
| 分类 | 工程元件或部件;为产生和保持机器或设备的有效运行的一般措施;一般绝热; |
| 申请人名称 | 金华春光橡塑科技股份有限公司 |
| 申请人地址 | 浙江省金华市安文路420号 |
专利法律状态
2022-05-10
授权
状态信息
授权
摘要
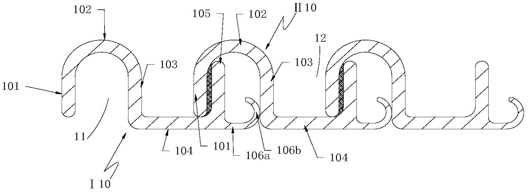
本实用新型公开了一种挤出软管,包括由多个基条所形成的软管主体,所述基条一端设有第一槽口,另一端设有弯折部,多个所述基条螺旋盘绕并横向连接形成所述软管主体的柔性壁,所述第一槽口设置在所述柔性壁的内壁上;其中两个相邻的所述基条中,第一个所述基条的弯折部插入至另一个所述基条的第一槽口入口处,且所述第一个所述基条的弯折部封闭所述第一槽口的入口,所述弯折部设置为弧形;本实用新型通过设置的弯折部,能够在多个基条相互螺旋缠绕并横向连接为挤出软管时,挡住软管内壁上的凹槽,从而保证挤出软管内壁的平整,减少啸叫。


