授权公布号:CN217861035U
一种挤出管卡簧密封圈一体工装
有效
申请
2022-06-30
申请公布
1970-01-01
授权
2022-11-22
预估到期
2032-06-30
| 申请号 | CN202221698952.1 |
| 申请日 | 2022-06-30 |
| 授权公布号 | CN217861035U |
| 授权公告日 | 2022-11-22 |
| 分类号 | B25B27/00 |
| 分类 | 手动工具;轻便机动工具;手动器械的手柄;车间设备;机械手; |
| 申请人名称 | 金华春光橡塑科技股份有限公司 |
| 申请人地址 | 浙江省金华市安文路420号 |
专利法律状态
2022-11-22
授权
状态信息
授权
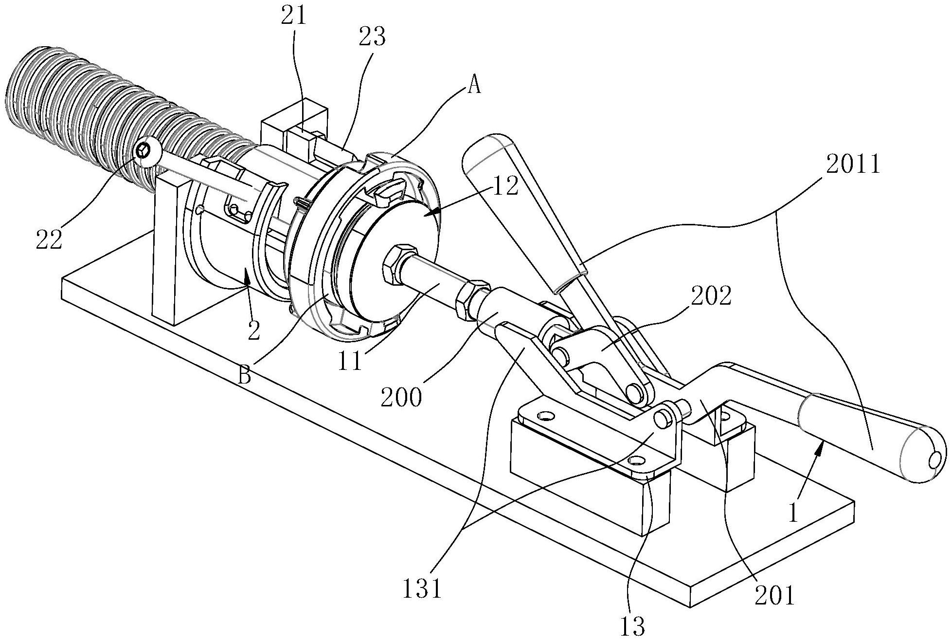
摘要
本发明公开了一种挤出管卡簧密封圈一体工装,包括部件A及部件B,包括:顶推组件,其包括受驱沿轴向移动的推杆,所述推杆的端部安装有推块,所述推块以将部件B顶推至所述部件A端口内以镶嵌;抱箍组件,其包括弧形结构的托环,所述托环上螺纹连接有定位杆,所述定位杆以锁止放置于所述托环内的部件A。作为本实用进一步提供的挤出管卡簧密封圈一体工装,优化了安装工装,提高了工作效率,且相比传统方式而言,避免手工安装下,由于对部件B敲打力度过大,而造成的部件B的损坏。


