授权公布号:CN210240439U
无滴漏水表及其π形杆控制阀
有效
申请
2019-07-02
申请公布
1970-01-01
授权
2020-04-03
预估到期
2029-07-02
| 申请号 | CN201921018070.4 |
| 申请日 | 2019-07-02 |
| 授权公布号 | CN210240439U |
| 授权公告日 | 2020-04-03 |
| 分类号 | F16F15/08 |
| 分类 | 工程元件或部件;为产生和保持机器或设备的有效运行的一般措施;一般绝热; |
| 申请人名称 | 北京慧怡科技有限责任公司 |
| 申请人地址 | 北京市顺义区高丽营镇文化营村北(临空二路1号) |
专利法律状态
2020-04-03
授权
状态信息
授权
摘要
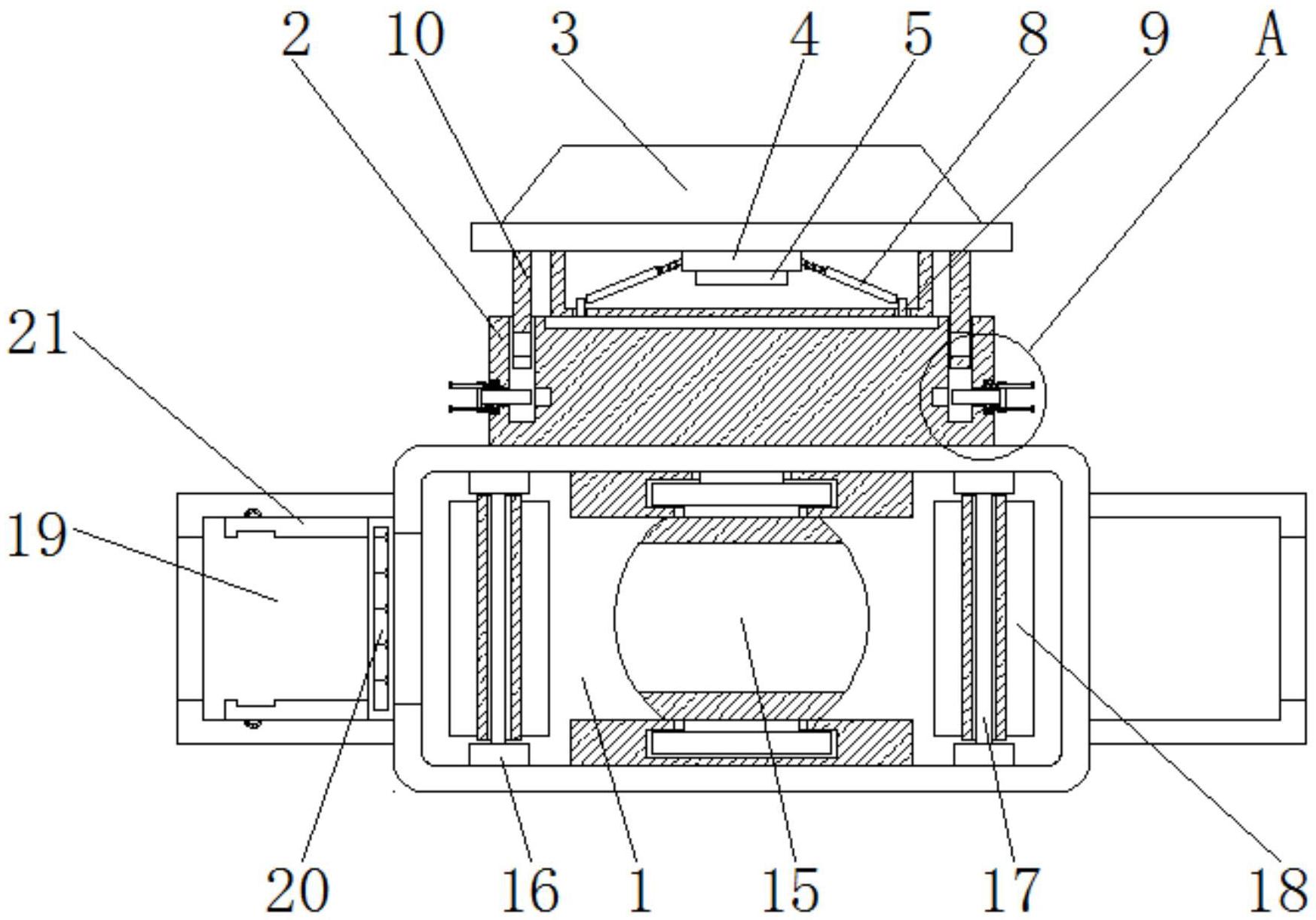
本实用新型涉及供水计量设备技术领域,且公开了无滴漏水表及其π形杆控制阀,解决了目前市场上的无滴漏水表及其π形杆控制阀防护效果差,水表显示屏区域容易损坏、水表所承受的压力大,使用寿命短,杂质对水表内部组成部件造成运转不便的问题,其包括控制管,所述控制管的顶部固定有固位块,固位块的顶部安装有防护块,防护块的底部固定有缓冲块,缓冲块的底部固定有橡胶块,缓冲块的侧面固定有承压杆,承压杆的一端固定有减震套,减震套的顶部通过缓冲弹簧与缓冲块的侧面传动连接;本实用新型,具有防护效果好,避免了水表显示区域容易损坏、水表受压降低,使用寿命延长,对杂质进行过滤,降低杂质对水表内部部件造成运转干扰的优点。


