授权公布号:CN113155213B
一种明渠超声流量计的安装测流及维护方法
有效
申请
2021-04-22
申请公布
2021-07-23
授权
2022-09-02
预估到期
2041-04-22
| 申请号 | CN202110434708.8 |
| 申请日 | 2021-04-22 |
| 申请公布号 | CN113155213A |
| 申请公布日 | 2021-07-23 |
| 授权公布号 | CN113155213B |
| 授权公告日 | 2022-09-02 |
| 分类号 | G01F1/667;G01F1/002;G01F15/18 |
| 分类 | 测量;测试; |
| 申请人名称 | 汇中仪表股份有限公司 |
| 申请人地址 | 河北省唐山市高新技术产业开发区高新西道126号 |
专利法律状态
2022-09-02
授权
状态信息
授权
2021-07-23
公布
状态信息
公布
摘要
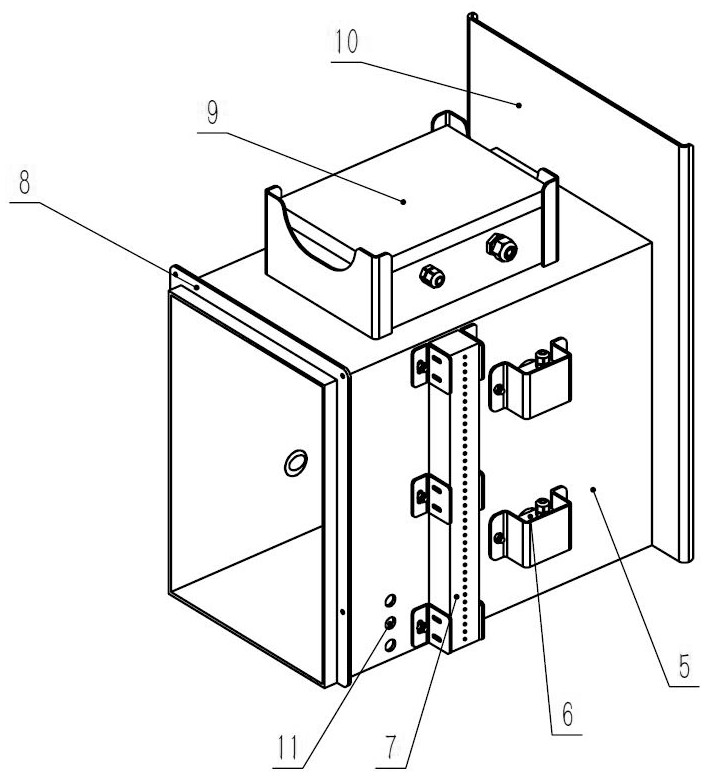
本发明涉及一种明渠超声流量计的安装测流及维护方法,适用于灌区末段斗渠和农渠量水,属于超声流量计应用技术领域。技术方案是:涵箱(5)的箱壁上设置换能器(6)、液位计(7)、积算模块、电池组和远传模块,涵箱(5)安装在涵槽或涵洞内并定位,上游渠水通过涵槽或涵洞内的涵箱(5)后流向下游;涵箱(5)上的换能器(6)和液位计(7)检测出流经涵箱(5)的流速及水位信号,积算模块转换后通过远传模块上传流量信息。本发明的有益效果:不仅能实现电池供电,而且能在不破拆渠道壁的情况下方便地取出换能器,不需要占用渠岸土地,简化供电系统,减少维护维修施工量。


