授权公布号:CN212301682U
高压交流计量装置
有效
申请
2020-06-17
申请公布
1970-01-01
授权
2021-01-05
预估到期
2030-06-17
| 申请号 | CN202021133898.7 |
| 申请日 | 2020-06-17 |
| 授权公布号 | CN212301682U |
| 授权公告日 | 2021-01-05 |
| 分类号 | G01R22/06 |
| 分类 | 测量;测试; |
| 申请人名称 | 武汉盛帆电子股份有限公司 |
| 申请人地址 | 湖北省武汉市江夏区庙山开发区阳光大道9号 |
专利法律状态
2021-01-05
授权
状态信息
授权
摘要
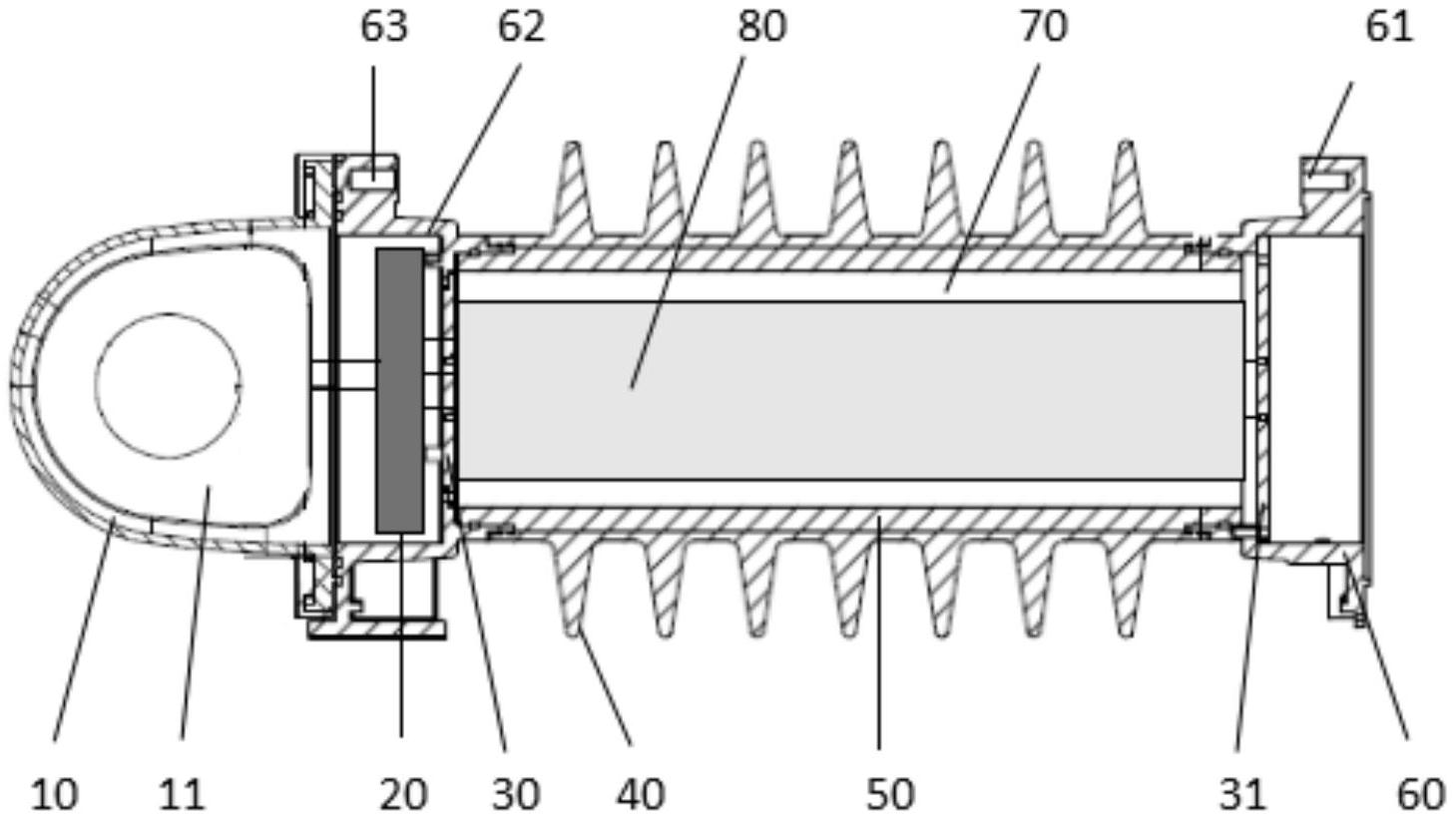
本申请提供一种高压交流计量装置,涉及电气装置技术领域。高压交流计量装置包括基础壳体、分压单元、信号处理模块和电流互感器,分压单元设置于基础壳体内且被绝缘材料裹覆,分压单元与信号处理模块电连接,信号处理模块与电流互感器电连接,基础壳体上设有第一接线端子、第二接线端子。分压单元包括第一屏蔽单元、计量分压单元和第二屏蔽单元。计量分压单元包括横向排布的第一电阻器,第一电阻器的中心线到第一屏蔽单元、第二屏蔽单元的间距相等且与第一屏蔽单元、第二屏蔽单元平行。高压交流计量装置能够对电流线进行监测计量,其分压单元实现了非闭环式的等电位屏蔽,使得计量精度有保障,产品可靠性高又节省材料。


