授权公布号:CN211328163U
一种磁感触发玩具
有效
申请
2019-11-25
申请公布
1970-01-01
授权
2020-08-25
预估到期
2029-11-25
| 申请号 | CN201922060403.6 |
| 申请日 | 2019-11-25 |
| 授权公布号 | CN211328163U |
| 授权公告日 | 2020-08-25 |
| 分类号 | A63H33/26 |
| 分类 | 运动;游戏;娱乐活动; |
| 申请人名称 | 鹤山雅图仕印刷有限公司 |
| 申请人地址 | 广东省江门市鹤山市古劳镇玄坛庙工业区(鹤山雅图仕印刷有限公司七座) |
专利法律状态
2020-08-25
授权
状态信息
授权
摘要
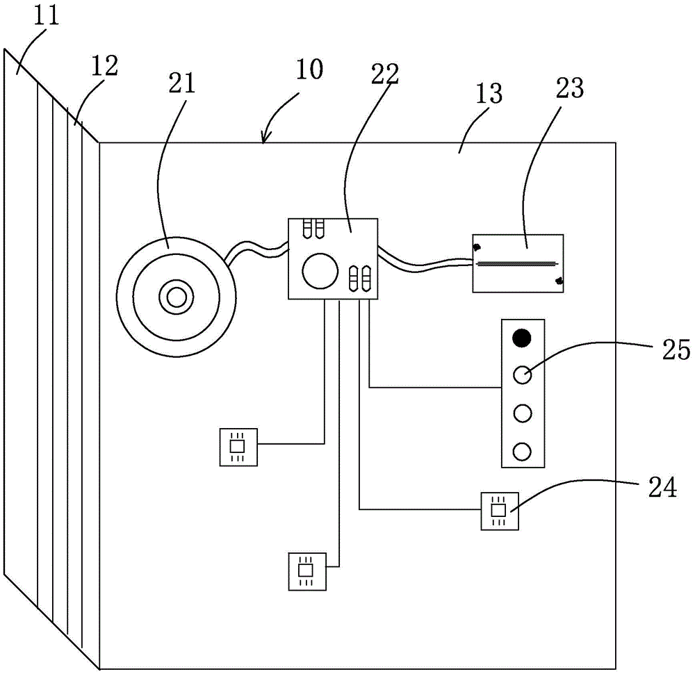
本实用新型公开了一种磁感触发玩具,磁感触发玩具包括设有磁体的外置触发件和设置有霍尔传感器、控制器、切换按键和响应输出模块的玩具主体,切换按键用于切换不同的响应动作组,响应输出模块按照磁体触发霍尔传感器的顺序从当前的响应动作组中选择并做出对应的响应动作。能通过少量的霍尔传感器即可达到多种的控制效果,提高了玩具的可玩性和趣味性,同时减少了霍尔传感器的使用,从而缩小玩具的体积,并减少玩具的制造成本。


