授权公布号:CN211994426U
打孔机构
失效
申请
2019-12-24
申请公布
1970-01-01
授权
2020-11-24
预估到期
2029-12-24
| 申请号 | CN201922368825.X |
| 申请日 | 2019-12-24 |
| 授权公布号 | CN211994426U |
| 授权公告日 | 2020-11-24 |
| 分类号 | B31B70/14;B31B70/00;B31B70/04;B31B160/10N |
| 分类 | 纸品制作;纸的加工; |
| 申请人名称 | 鹤山雅图仕印刷有限公司 |
| 申请人地址 | 广东省江门市鹤山古劳镇玄坛庙工业区 |
专利法律状态
2024-01-05
专利权的终止
状态信息
未缴年费专利权终止;IPC(主分类):B31B70/14;申请日:20191224;授权公告日:20201124
2020-11-24
授权
状态信息
授权
摘要
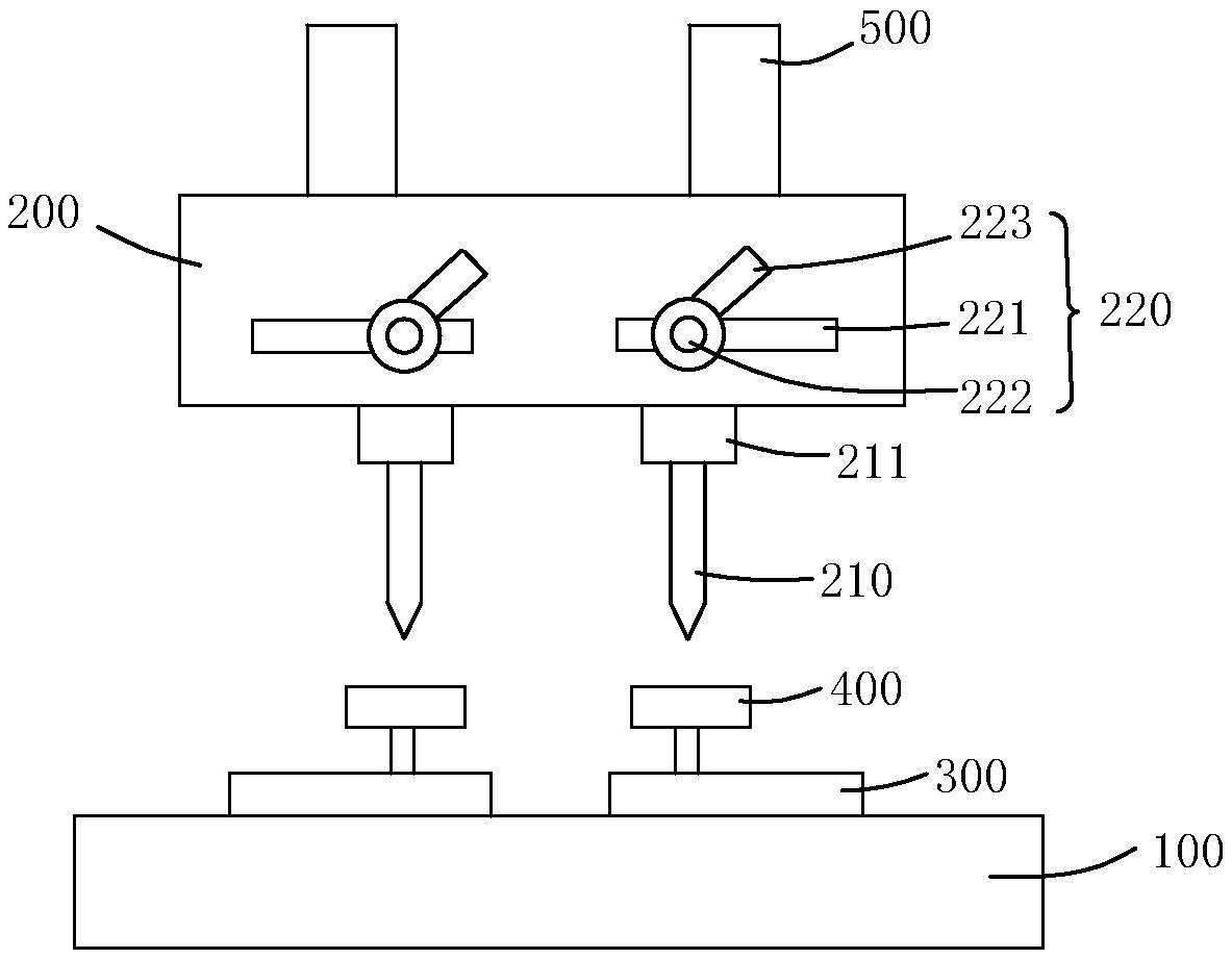
本实用新型公开了一种打孔机构,包括工作台,工作台上设置有支撑架;打孔箱,打孔箱与支撑架连接,打孔箱的底部设置有打孔针,打孔箱上设置有用于调节打孔针的位置的调节装置,调节装置与打孔针连接;底座,底座设置在打孔箱的下方;定位结构,定位结构设置在打孔箱与底座之间,定位结构与底座连接,底座上设置有用于穿过打孔针的通孔;打孔气缸,打孔气缸的一端与打孔箱连接,打孔气缸的另一端与支撑架连接,打孔气缸由电机驱动;纸袋传输通道,纸袋传输通道设置在底座的一侧;通过调节装置能够调节打孔箱上打孔针的位置,从而能够在纸袋上打出不同位置的孔,满足不同的市场需求。


