授权公布号:CN216830879U
一种机械臂
有效
申请
2021-11-23
申请公布
1970-01-01
授权
2022-06-28
预估到期
2031-11-23
| 申请号 | CN202122884943.3 |
| 申请日 | 2021-11-23 |
| 授权公布号 | CN216830879U |
| 授权公告日 | 2022-06-28 |
| 分类号 | B25J9/02;B25J9/16;B25J15/06 |
| 分类 | 手动工具;轻便机动工具;手动器械的手柄;车间设备;机械手; |
| 申请人名称 | 广东涂耐可建筑涂料有限公司 |
| 申请人地址 | 广东省东莞市洪梅镇河西工业区 |
专利法律状态
2022-06-28
授权
状态信息
授权
摘要
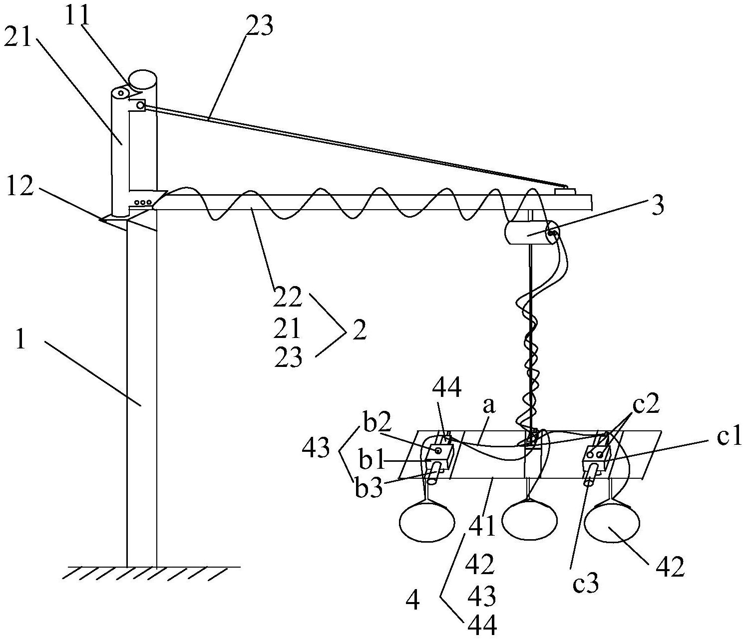
本实用新型涉及机械臂的技术领域,特别涉及一种机械臂,包括:一端固定于地平面上的固定柱,一端设于所述固定柱上端部、另一端往所述固定柱外侧延伸的导轨固定架,可滑动地设于所述导管固定架下方的空气压缩及升降控制器,及连接所述空气压缩及升降控制器、且设于所述导轨固定架下方、根据所述升降控制器反馈的信号相对应地吸附产品或进行升降操作的吸盘结构。具有结构设置合理、省力及提高生产效率的特点。


