授权公布号:CN210964890U
一种多向运动的混合装置
有效
申请
2019-10-10
申请公布
1970-01-01
授权
2020-07-10
预估到期
2029-10-10
| 申请号 | CN201921689744.3 |
| 申请日 | 2019-10-10 |
| 授权公布号 | CN210964890U |
| 授权公告日 | 2020-07-10 |
| 分类号 | B01F9/12 |
| 分类 | 一般的物理或化学的方法或装置; |
| 申请人名称 | 唐山盾石干粉建材有限责任公司 |
| 申请人地址 | 河北省唐山市永庆道35号 |
专利法律状态
2020-07-10
授权
状态信息
授权
摘要
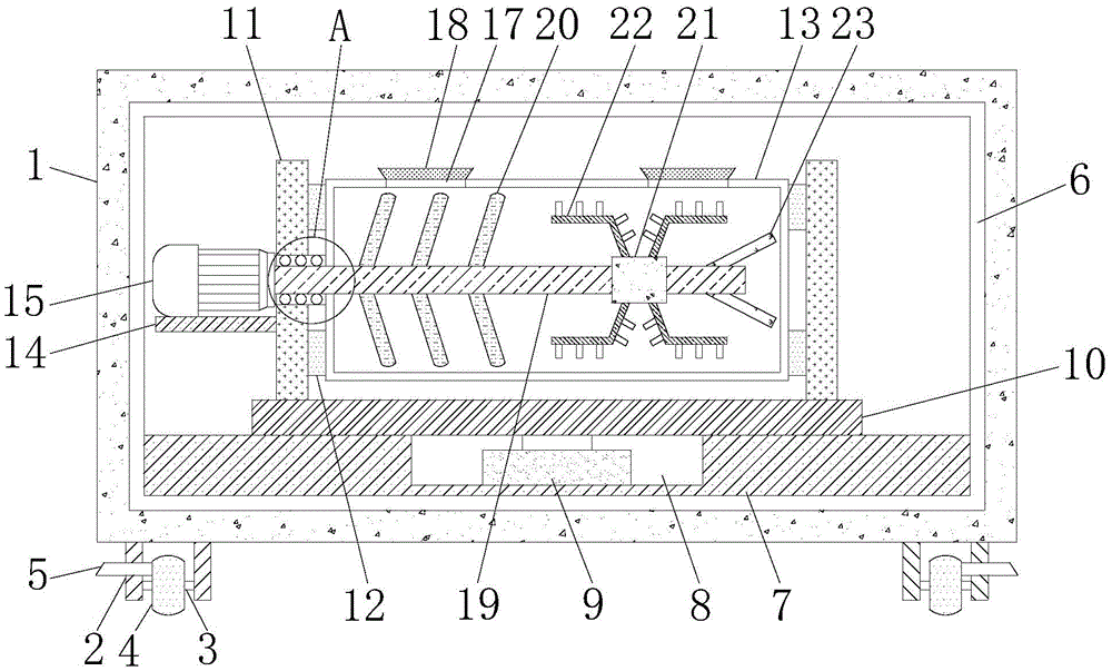
本实用新型涉及混合机技术领域,且公开了一种多向运动的混合装置,包括壳体,所述壳体的底部固定连接有挡块,所述挡块的一侧固定连接有连接轴,所述连接轴的外壁活动连接有滑轮,所述挡块的外壁活动连接有刹车片,所述壳体的内侧壁固定连接有混合装置本体,所述混合装置本体的内底壁固定连接有托座,所述托座的顶部开设有安装槽,所述安装槽的内底壁固定连接有第一电机,所述第一电机的输出轴通过联轴器固定连接有转盘。该多向运动的混合装置,能够达到对物料进行充分均匀混合的目的,解决了人工混合效率低的问题,同时保障了物料可以无死角的混合,提高了物料的混合效率,加快了工作进程,省时省力,满足了使用者的使用需求。


