授权公布号:CN214261067U
一种新型仓顶除尘器
有效
申请
2020-10-14
申请公布
1970-01-01
授权
2021-09-24
预估到期
2030-10-14
| 申请号 | CN202022287982.0 |
| 申请日 | 2020-10-14 |
| 授权公布号 | CN214261067U |
| 授权公告日 | 2021-09-24 |
| 分类号 | B01D46/02;B01D46/04 |
| 分类 | 一般的物理或化学的方法或装置; |
| 申请人名称 | 唐山盾石干粉建材有限责任公司 |
| 申请人地址 | 河北省唐山市永庆道35号 |
专利法律状态
2021-09-24
授权
状态信息
授权
摘要
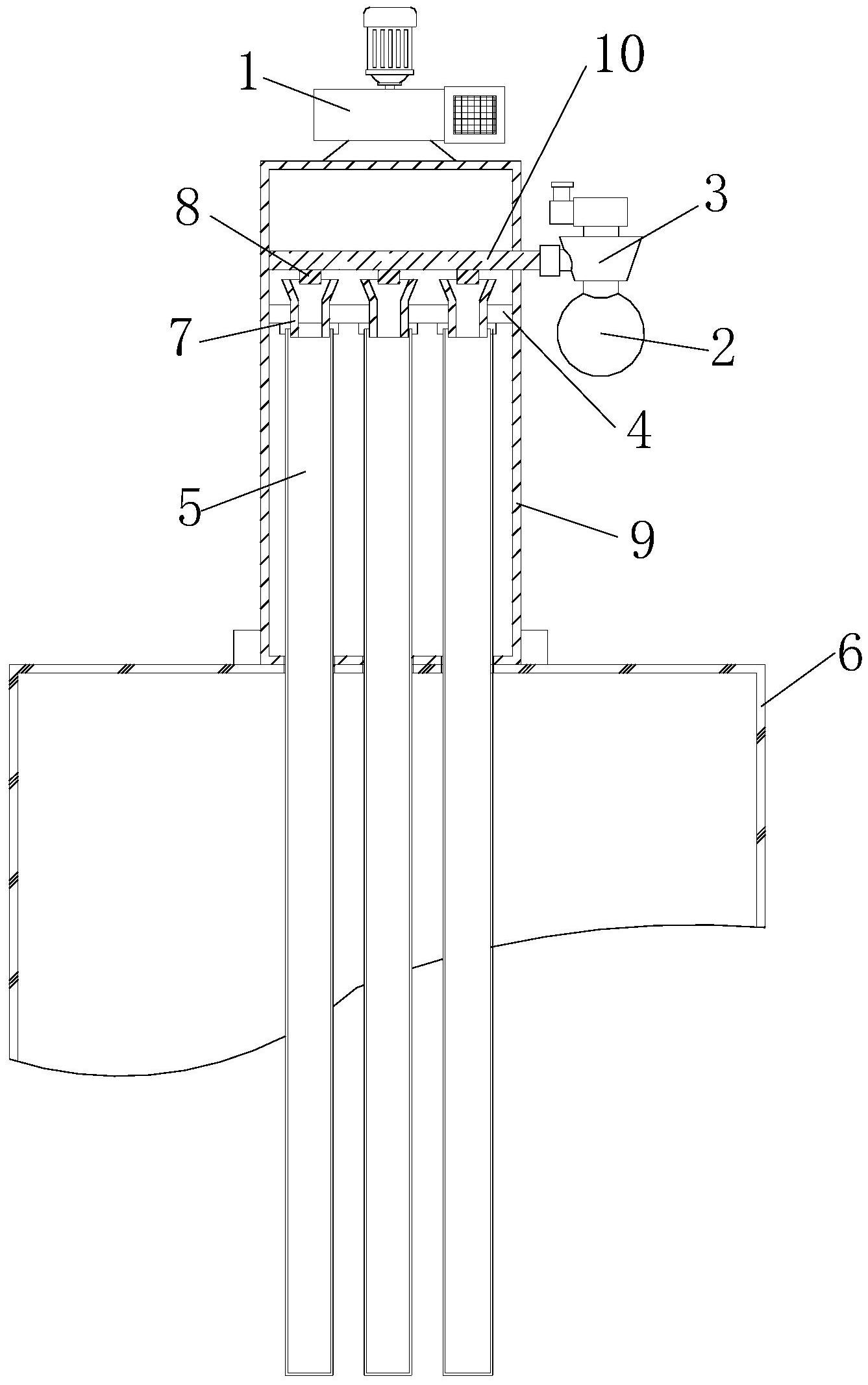
本实用新型涉及除尘器技术领域,且公开了一种新型仓顶除尘器,包括风机,所述风机的入风端固定连接有除尘器外壳,所述除尘器外壳的内壁固定连接有连接管,所述连接管的底部固定连接有清吹嘴,所述连接管的一侧固定连接有脉冲阀,所述脉冲阀的输入口活动连接有储气罐,所述除尘器外壳的内壁固定连接有孔板,所述孔板的一侧开设有通孔,所述通孔的内壁活动连接有导流嘴。该新型仓顶除尘器包括风机,达到了滤材更换费用低的目的,解决了一般新型仓顶除尘器滤材更换费用高的问题,可靠性高,维修频率低,维修工作量小,维修费用低,新型除尘器滤材更换费用低,清灰效果好,滤材使用寿命长,环保排放可靠性更高,大大降低了维修工作量和维护费用。


