授权公布号:CN216926822U
一种抹灰石膏涂布率检测装置
有效
申请
2021-12-23
申请公布
1970-01-01
授权
2022-07-08
预估到期
2031-12-23
| 申请号 | CN202123277547.0 |
| 申请日 | 2021-12-23 |
| 授权公布号 | CN216926822U |
| 授权公告日 | 2022-07-08 |
| 分类号 | G01N33/38 |
| 分类 | 测量;测试; |
| 申请人名称 | 唐山盾石干粉建材有限责任公司 |
| 申请人地址 | 河北省唐山市高新区永庆道35号 |
专利法律状态
2022-07-08
授权
状态信息
授权
摘要
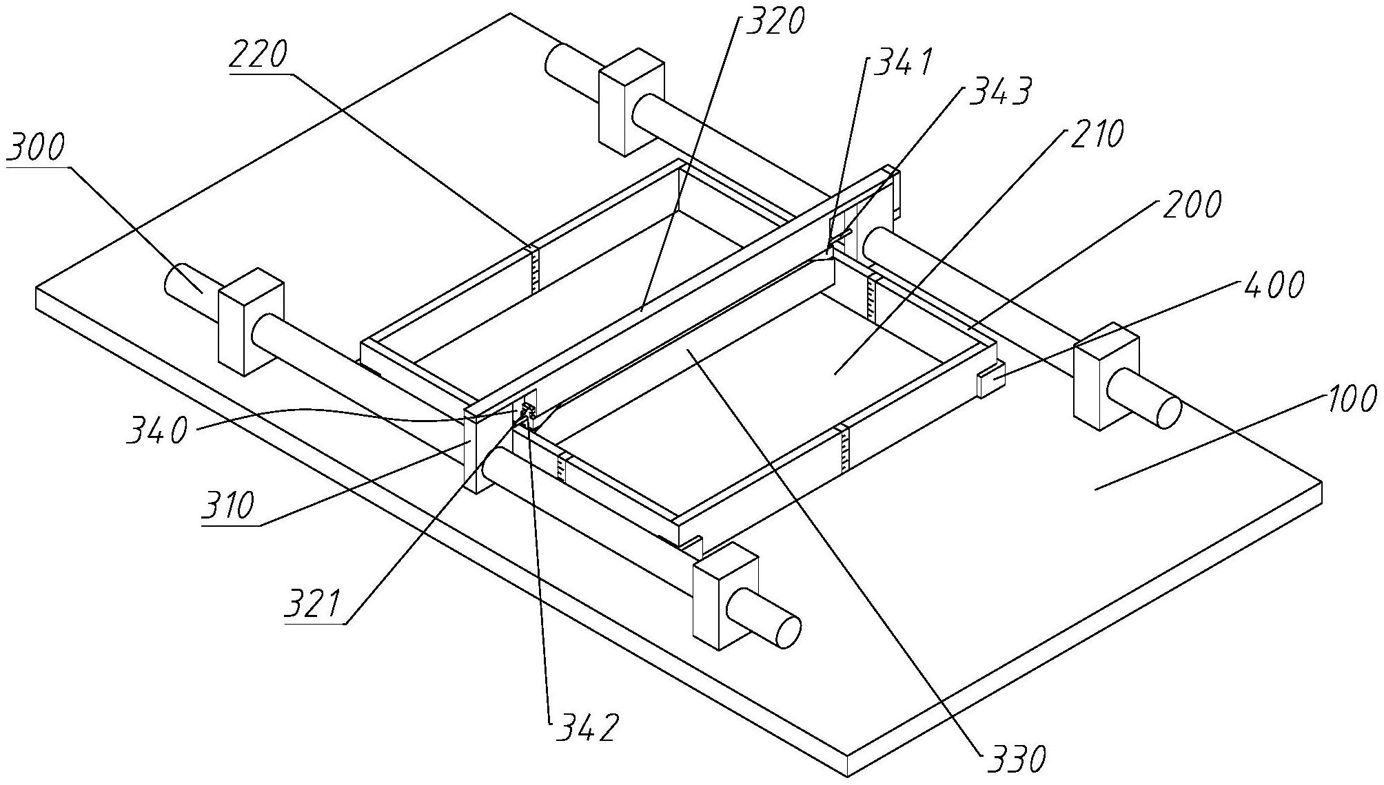
本实用新型涉及抹灰石膏检测装置技术领域,提出了一种抹灰石膏涂布率检测装置,包括底板;侧围板,设置在所述底板上,设置有四个,四个所述侧围板首尾依次连接形成刮槽;导杆,为两个,设置在所述底板上,分别位于相对的两个所述侧围板的外侧;滑块,设置在所述导杆上,所述滑块沿所述导杆移动;还包括固定板,设置在两个所述滑块上;及刮板,通过升降调节装置与所述固定板连接,且所述刮板伸入所述刮槽内,所述升降调节装置包括楔块,滑动设置在所述固定板与所述刮板之间,所述楔块滑动后调整所述固定板与所述刮板之间的距离;通过上述技术方案,解决了现有技术中测试误差较大,准确率低的问题。


