授权公布号:CN210729632U
一种石粉提取装置
有效
申请
2019-10-10
申请公布
1970-01-01
授权
2020-06-12
预估到期
2029-10-10
| 申请号 | CN201921691513.6 |
| 申请日 | 2019-10-10 |
| 授权公布号 | CN210729632U |
| 授权公告日 | 2020-06-12 |
| 分类号 | B02C2/00 |
| 分类 | 破碎、磨粉或粉碎;谷物碾磨的预处理; |
| 申请人名称 | 唐山盾石干粉建材有限责任公司 |
| 申请人地址 | 河北省石家庄市永庆道35号 |
专利法律状态
2020-06-12
授权
状态信息
授权
摘要
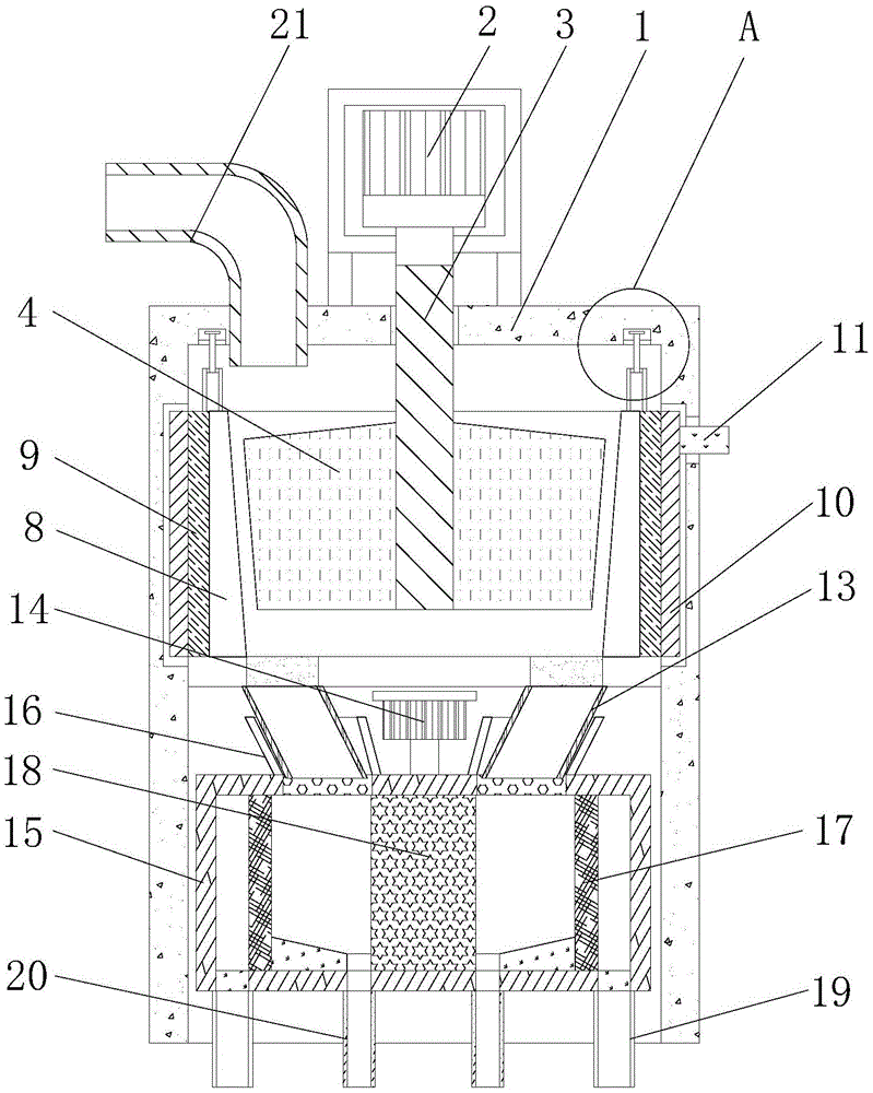
本实用新型涉及石粉生产加工技术领域,且公开了一种石粉提取装置,包括筛分仓,所述筛分仓的顶部固定连接有第一电机,所述第一电机的输出轴通过联轴器固定连接有转轴,所述转轴的外壁固定连接有研磨块,所述筛分仓的内顶壁开设有滑槽,所述滑槽的内壁活动连接有滑杆,所述滑杆的外壁活动连接有套管,所述套管的底部固定连接有研磨框。该石粉提取装置,能够对石粉的进料流量进行调节,以便于石粉能够更加顺畅的进行流动和筛分,达到装置运行更流畅的目的,避免一般的石粉提取装置不能对对石粉流量进行调节,石粉容易堆积在入料口影响后期的正常提取,导致石粉提取效率降低的问题,从而提高该提取装置的提取效率。


