授权公布号:CN211537313U
一种液体原料添加用混合一体机
有效
申请
2019-12-12
申请公布
1970-01-01
授权
2020-09-22
预估到期
2029-12-12
| 申请号 | CN201922226233.4 |
| 申请日 | 2019-12-12 |
| 授权公布号 | CN211537313U |
| 授权公告日 | 2020-09-22 |
| 分类号 | B01F7/04 |
| 分类 | 一般的物理或化学的方法或装置; |
| 申请人名称 | 唐山盾石干粉建材有限责任公司 |
| 申请人地址 | 河北省唐山市路北区永庆道35号 |
专利法律状态
2020-09-22
授权
状态信息
授权
摘要
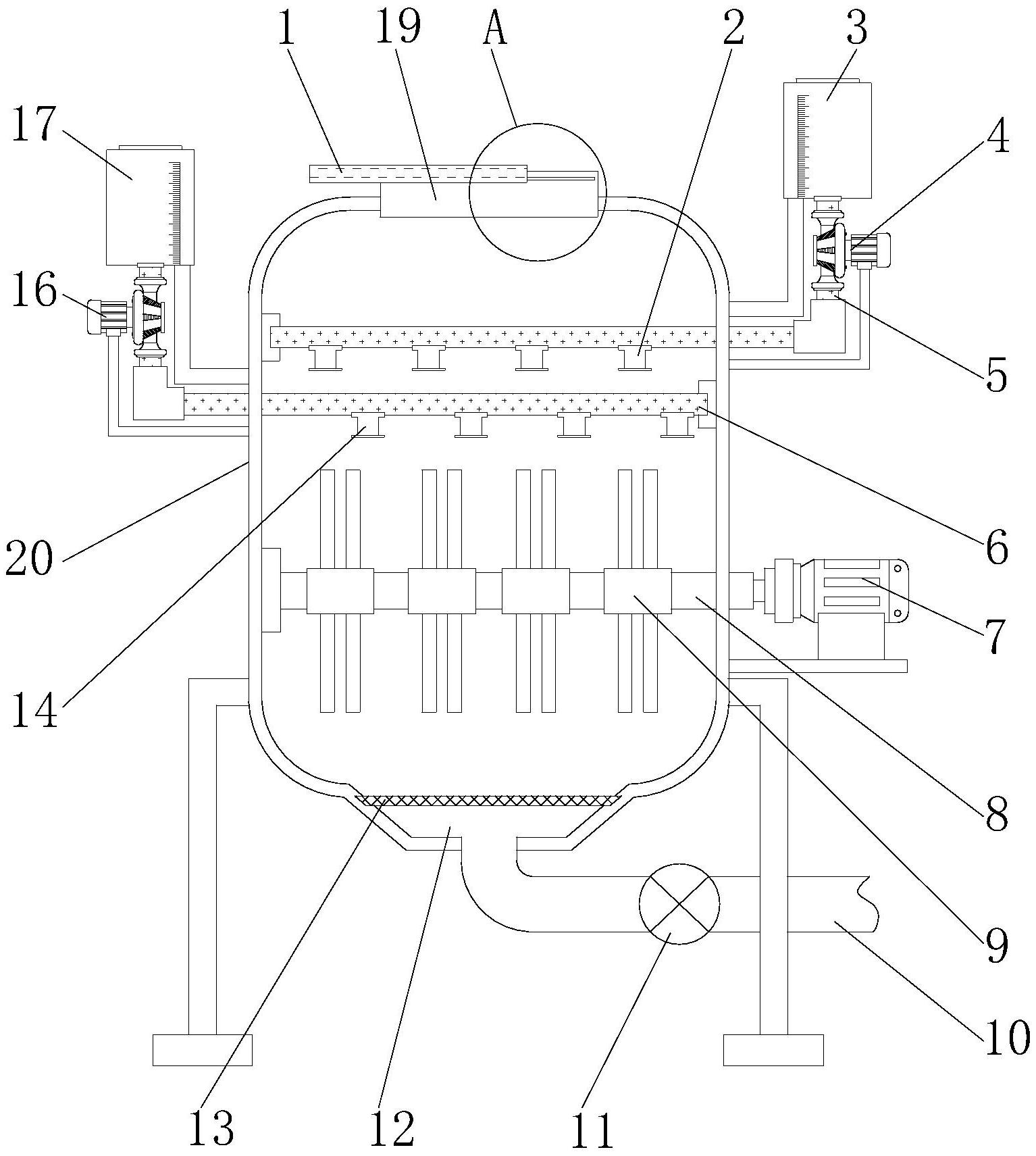
本实用新型涉及液体混合技术领域,且公开了一种液体原料添加用混合一体机,包括混合装置主体,所述混合装置主体一侧的外壁固定连接有第一计量桶,所述第一计量桶的底部固定连接有第一连接水管,所述第一连接水管的一端活动连接有第一水泵,所述第一连接水管的一端贯穿混合装置主体的一侧并延伸至混合装置主体的内部,所述第一连接水管的底部固定连接有第一喷头。该液体原料添加用混合一体机,能够将液体混合过程中的多个装置连接组合在一起,在对液体原料进行混合工作的过程中可以提高工作效率,解决了一般液体原料添加混合装置结构复杂,工作人员工作起来步骤比较繁琐的问题,从而可以降低工作人员的工作强度,满足了液体混合的使用需求。


