授权公布号:CN111717551B
卸料设备及其加湿装置
有效
申请
2020-06-23
申请公布
2020-09-29
授权
2022-05-17
预估到期
2040-06-23
| 申请号 | CN202010580418.X |
| 申请日 | 2020-06-23 |
| 申请公布号 | CN111717551A |
| 申请公布日 | 2020-09-29 |
| 授权公布号 | CN111717551B |
| 授权公告日 | 2022-05-17 |
| 分类号 | B65D88/64 |
| 分类 | 输送;包装;贮存;搬运薄的或细丝状材料; |
| 申请人名称 | 美巢集团股份公司 |
| 申请人地址 | 北京市大兴区瀛元街6号 |
专利法律状态
2022-05-17
授权
状态信息
授权
2020-09-29
公布
状态信息
公布
摘要
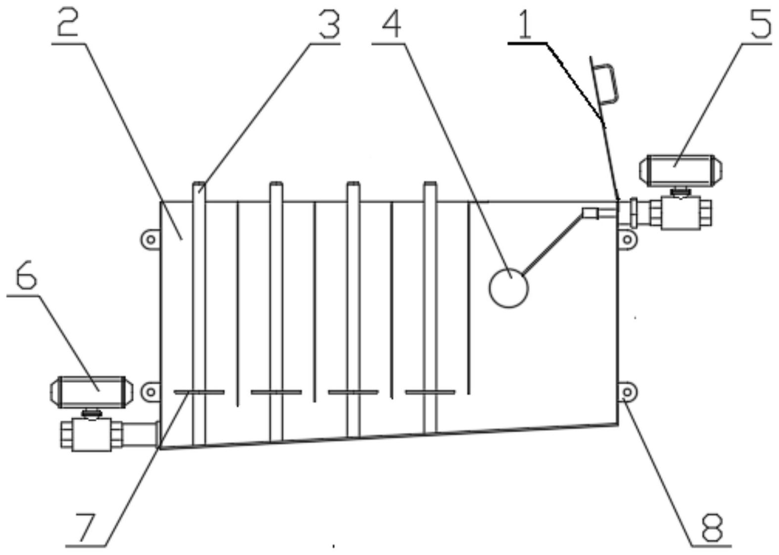
本发明公开了一种卸料设备的加湿装置,包括水箱、支架、进水阀和排水阀;水箱的顶部设有进水口,水箱的底部设有排水口;支架固定在水箱内;支架用于与卸料设备中卸料软管的末端插装配合,以使末端伸至水箱内液面以下;进水阀与进水口连通;排水阀与排水口连通。该加湿装置能够使卸料软管的末端浸入水箱内液面以下,使卸料设备形成封闭空间,利用卸料软管末端处水分蒸发使上述封闭空间内达到水蒸气饱和状态,避免封闭空间内的原料发生脱水干结的现象,防止结皮对后续输送系统造成负担、堵塞,甚至损坏输送设备。本发明还提供一种卸料设备,其应用上述加湿装置,能避免原料出现脱水干结的现象。


