授权公布号:CN215401042U
齿形带组件及其连接装置
有效
申请
2021-01-05
申请公布
1970-01-01
授权
2022-01-04
预估到期
2031-01-05
| 申请号 | CN202120011487.9 |
| 申请日 | 2021-01-05 |
| 授权公布号 | CN215401042U |
| 授权公告日 | 2022-01-04 |
| 分类号 | B65G15/30;B65G23/02 |
| 分类 | 输送;包装;贮存;搬运薄的或细丝状材料; |
| 申请人名称 | 美巢集团股份公司 |
| 申请人地址 | 北京市大兴区瀛元街6号 |
专利法律状态
2022-01-04
授权
状态信息
授权
摘要
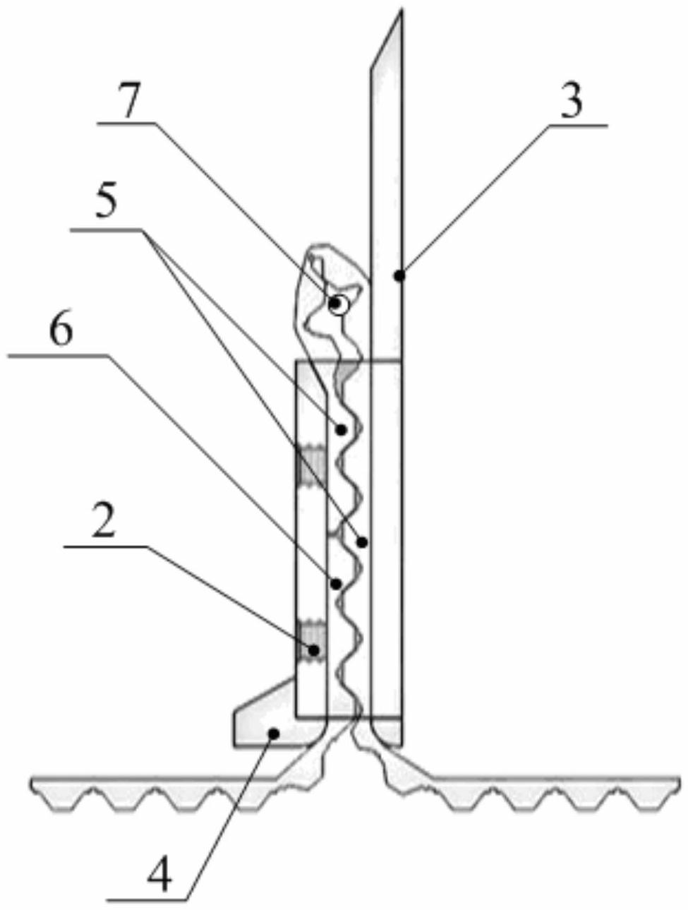
本实用新型公开了一种齿形带组件及其连接装置,齿形带的连接装置,包括连接件,所述连接件上开设有供齿形带伸入的通孔,待连接的两个齿形带连接段分别为第一连接段和第二连接段,其中第一连接段沿第一方向穿过所述通孔后再反向伸入通孔内,第二连接段沿第一方向伸入通孔内,且所述第一连接段反向弯折的部分以及第二连接段均与所述第一连接段未反向弯折的部分咬合。通孔内的两个齿形带端部相互挤压且相互咬合,以实现两个齿形带端部的连接,不必在两个齿形带端部上打孔,不影响齿形带端部的强度。另外,连接后的齿形带在运输物料时,连接件还可以起到推动物料的作用。即连接后的齿形带在运输物料时,连接件与物料相抵,以推动物料随齿形带移动。


