授权公布号:CN218083319U
一种陶瓷砖坯上表面灰刷
有效
申请
2022-05-12
申请公布
1970-01-01
授权
2022-12-20
预估到期
2032-05-12
| 申请号 | CN202221141754.5 |
| 申请日 | 2022-05-12 |
| 授权公布号 | CN218083319U |
| 授权公告日 | 2022-12-20 |
| 分类号 | B28B11/22;B28B17/00;B28B17/04;B08B1/02;B08B13/00 |
| 分类 | 加工水泥、黏土或石料; |
| 申请人名称 | 广东家美陶瓷有限公司 |
| 申请人地址 | 广东省清远市清城区源潭镇建材陶瓷工业城二期 |
专利法律状态
2022-12-20
授权
状态信息
授权
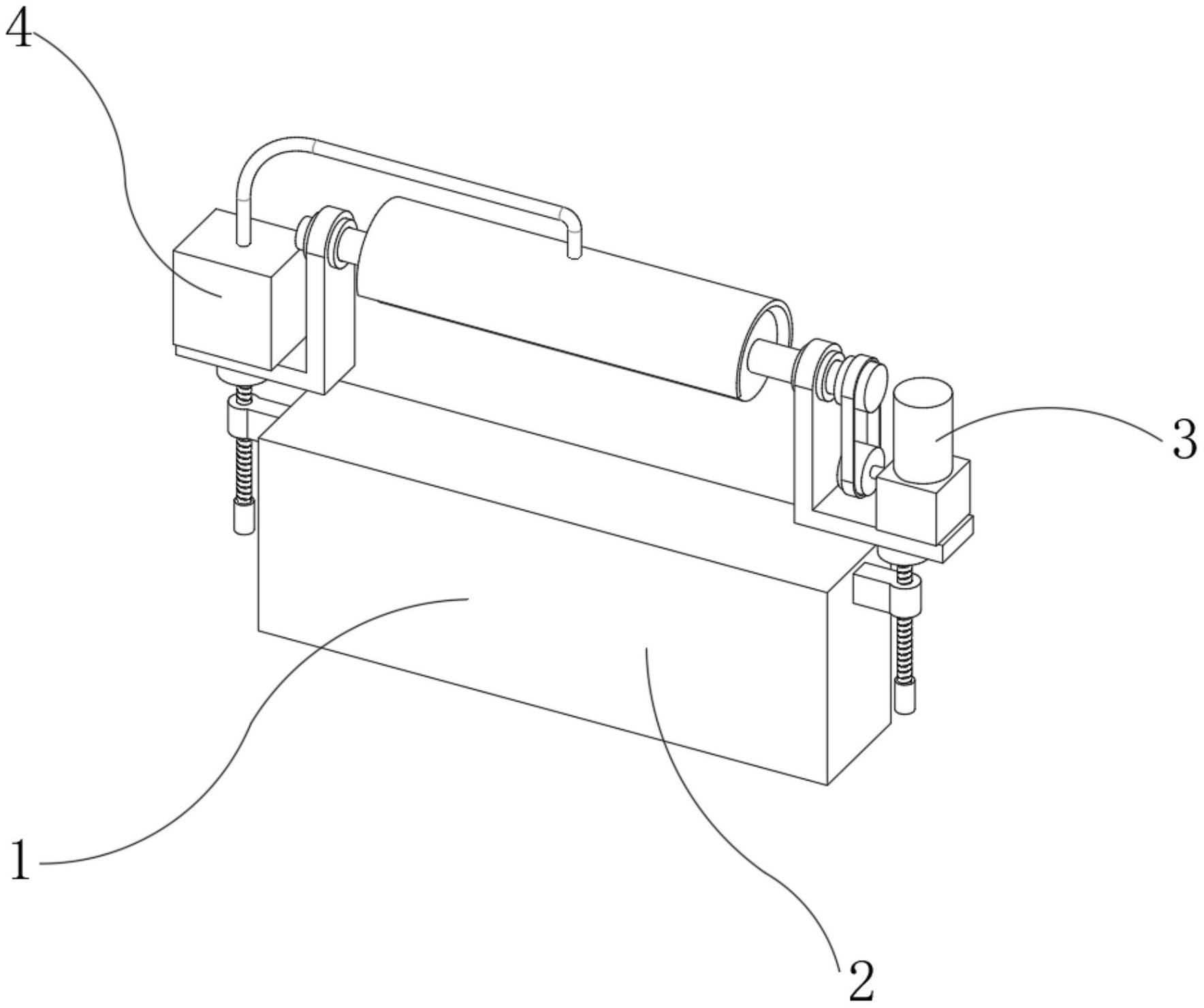
摘要
本实用新型公开了一种陶瓷砖坯上表面灰刷,包括设备主体,所述设备主体包括:用于对陶瓷砖坯表面上沾附灰尘进行清扫的刷灰组件,所述刷灰组件包括互相适配的刷灰驱动件以及刷灰件,所述刷灰件设置于陶瓷砖坯传送带上方;用于调节刷灰件高度的调整座,所述刷灰组件设置于调整座上;通过设置圆筒刷,圆筒刷滚动对陶坯上表面灰尘进行清理干净,陶坯表面受力均匀不易损伤,有效改善陶瓷砖坯的清灰效果,提高陶瓷成品质量,并且本实用新型的调整座上还设置有除灰组件,在使用过程中吸尘器运转,利用除尘罩将圆筒刷作业过程中产生的扬尘吸入吸尘管,并最终进入吸尘器,防止扬尘四溢影响工作人员的正常作业。


