授权公布号:CN115282762B
半干法脱硫系统及其控制方法
有效
申请
2022-08-17
申请公布
2022-11-04
授权
2024-01-23
预估到期
2042-08-17
| 申请号 | CN202210995581.1 |
| 申请日 | 2022-08-17 |
| 申请公布号 | CN115282762A |
| 申请公布日 | 2022-11-04 |
| 授权公布号 | CN115282762B |
| 授权公告日 | 2024-01-23 |
| 分类号 | B01D53/80;B01D53/50 |
| 分类 | 一般的物理或化学的方法或装置; |
| 申请人名称 | 广东家美陶瓷有限公司 |
| 申请人地址 | 广东省清远市清城区源潭镇建材陶瓷工业城二期 |
专利法律状态
2024-01-23
授权
状态信息
授权
2022-11-22
实质审查的生效
状态信息
实质审查的生效;IPC(主分类):B01D53/80;申请日:20220817
2022-11-04
公布
状态信息
公布
摘要
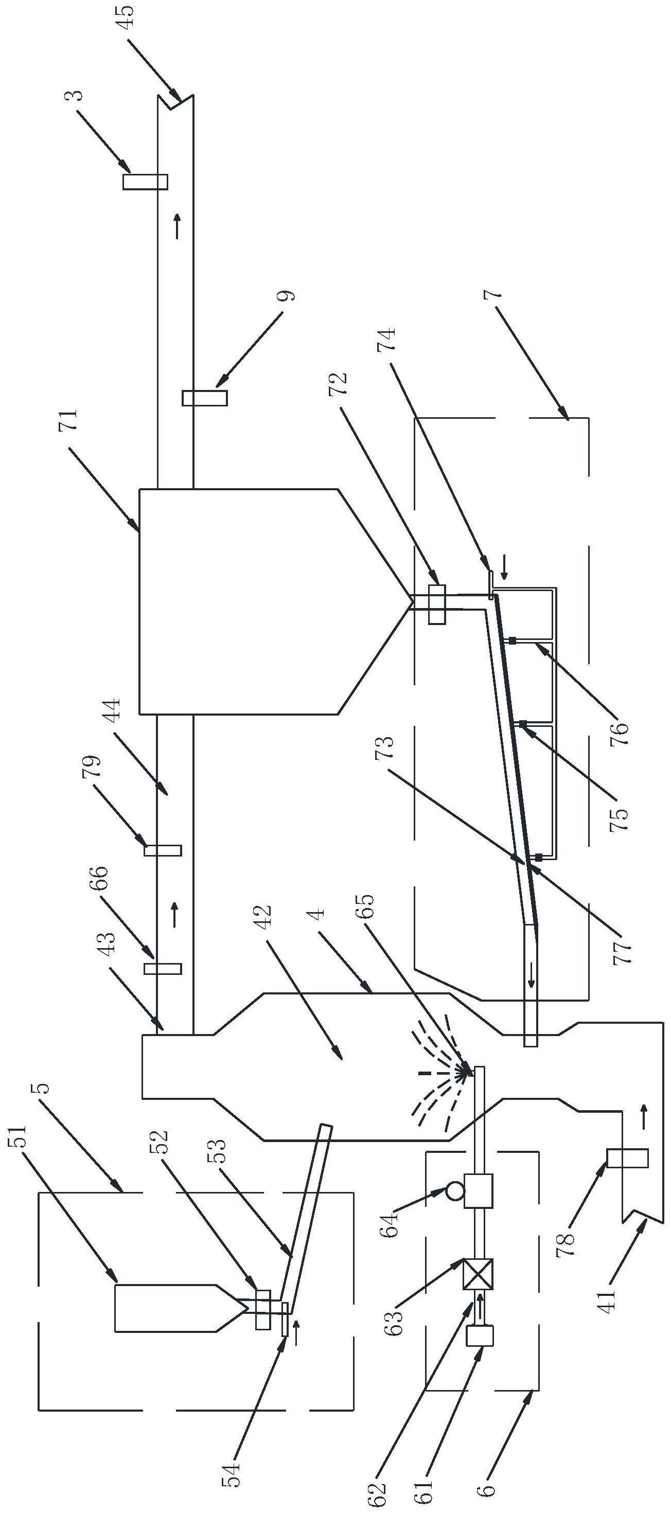
本发明涉及半干法脱硫系统及其控制方法。半干法脱硫系统反应塔底设有烟气入口,反应塔顶设有烟气出口,烟气出口经烟气管道连通返灰子系统的布袋除尘器,位于反应塔的上部通过径向贯穿反应塔塔壁的石灰输送管连接加石灰子系统,加石灰子系统设置在反应塔的循环流化床中,位于反应塔中部通过径向贯穿反应塔塔壁的喷水管伸入反应塔腔体内的喷水喷头,位于反应塔下部通过径向贯穿反应塔塔壁的返灰斜槽连接返灰子系统,压力变送器分别安装在反应塔的烟气入口和烟气出口管道上,DCS与上位机之间采用总线数据交换,烟气检测仪与上位机采用总线进行通讯,数据通过上位机发送到DCS中,DCS控制相应的加石灰子系统、喷水子系统和返灰子系统。


