授权公布号:CN207614785U
基料混合装置
有效
申请
2017-11-23
申请公布
1970-01-01
授权
2018-07-17
预估到期
2027-11-23
| 申请号 | CN201721589559.8 |
| 申请日 | 2017-11-23 |
| 授权公布号 | CN207614785U |
| 授权公告日 | 2018-07-17 |
| 分类号 | B01F15/04;B01F15/02;B01F15/00 |
| 分类 | 一般的物理或化学的方法或装置; |
| 申请人名称 | 广东嘉俊陶瓷有限公司 |
| 申请人地址 | 广东省江门市恩平沙湖镇蒲桥建材工业园10号 |
专利法律状态
2018-07-17
授权
状态信息
授权
摘要
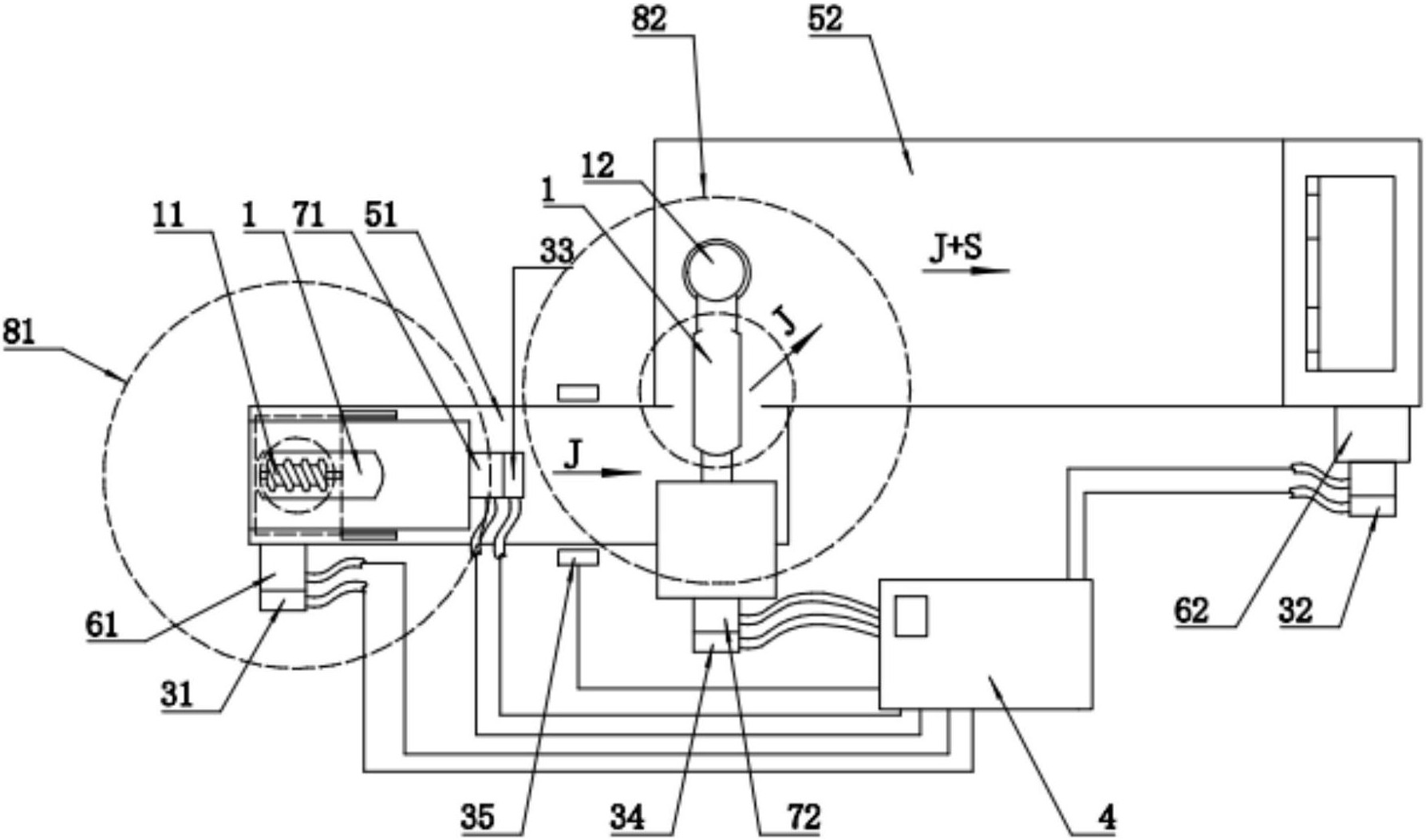
本实用新型涉及一种基料混合装置,包括基料传送线、接驳基料传送线的混料传送线、带动基料传送线的第一传送电机、带动混料传送线的第二传送电机、设置在基料传送线上游的基料斗、设置在混料传送线上游的色料斗。基料混合装置还包括:在基料传送线和基料斗之间,并且在混料传送线和色料斗之间,设置的搅拌机构;带动基料传送线和基料斗之间的搅拌机构的第一搅拌电机;带动混料传送线和色料斗之间的搅拌机构的第二搅拌电机;设置在第一搅拌电机上的第一编码器;设置在第二搅拌电机上的第二编码器;分别与第一传送电机、第二传送电机、第一搅拌电机、第二搅拌电机、第一编码器和第二编码器连接的混料控制器。本实用新型提高了混料质量。


