授权公布号:CN206198965U
一种喷雾脱硝系统
有效
申请
2016-11-13
申请公布
1970-01-01
授权
2017-05-31
预估到期
2026-11-13
| 申请号 | CN201621218501.8 |
| 申请日 | 2016-11-13 |
| 授权公布号 | CN206198965U |
| 授权公告日 | 2017-05-31 |
| 分类号 | B01D53/18;B01D53/78;B01D53/48;B01D53/54 |
| 分类 | 一般的物理或化学的方法或装置; |
| 申请人名称 | 广东强辉陶瓷有限公司 |
| 申请人地址 | 广东省佛山市禅城区南庄镇紫南村开发区 |
专利法律状态
2017-05-31
授权
状态信息
授权
摘要
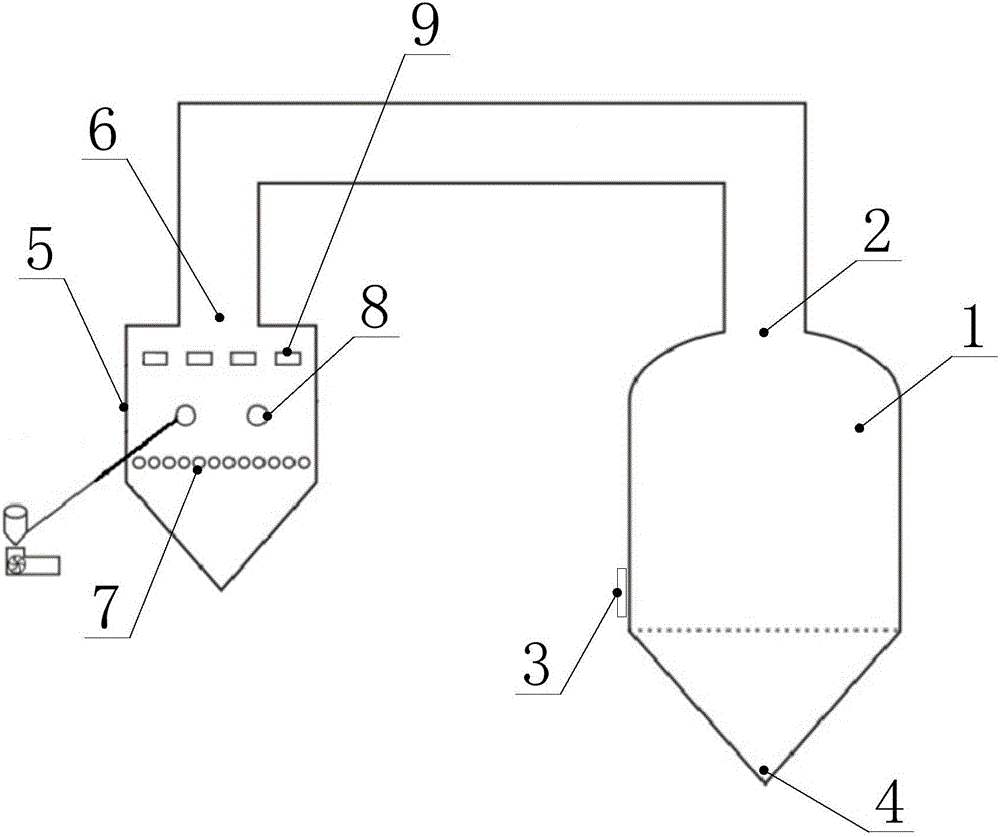
一种喷雾脱硝系统,包括:主喷雾塔,主喷雾塔上开设有第一出气口、第一进气口、第一废液输出口,于主喷雾塔内设置有第一喷雾组件;辅助喷雾塔,辅助喷雾塔上开设有第二进气口、第二出气口、安装口,于安装口上设置有第二喷雾组件,第二进气口通过管路与第一出气口连通,于辅助喷雾塔上开设有用于保持辅助喷雾塔气压平衡的气压平衡口。通过上述结构设计,本实用新型在主喷雾塔内气体的流动方向与用于吸附有害气体的液体对流,这样可以有效吸收气体内的含硫气体、含氮气体等有害气体。处理后的气体输出到辅助喷雾塔内,由辅助喷雾塔再次进行喷雾处理,这样极大程度地降低了气体内含硫气体、含氮气体等有害气体的含量。


