授权公布号:CN220469024U
一种排水量可调节的排水装置
有效
申请
2023-07-18
申请公布
1970-01-01
授权
2024-02-09
预估到期
2033-07-18
| 申请号 | CN202321887484.7 |
| 申请日 | 2023-07-18 |
| 授权公布号 | CN220469024U |
| 授权公告日 | 2024-02-09 |
| 分类号 | E03D1/00;E03D1/34;E03D1/14 |
| 分类 | 给水;排水; |
| 申请人名称 | 惠达卫浴股份有限公司 |
| 申请人地址 | 河北省唐山市丰南区黄各庄镇惠达路7号 |
专利法律状态
2024-02-09
授权
状态信息
授权
摘要
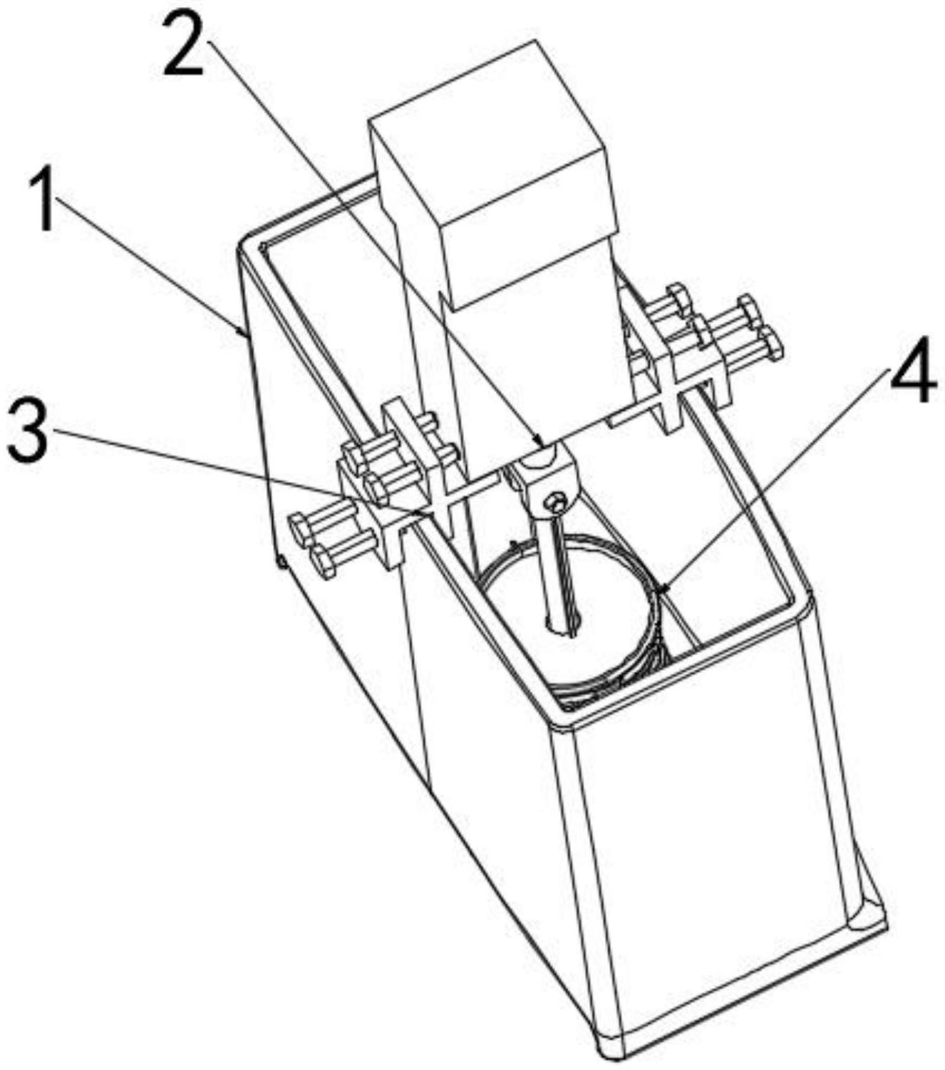
本实用新型公开了一种排水量可调节的排水装置,属于马桶排水技术领域,包括水箱、驱动组件和排水口盖,水箱的顶部设置有驱动组件,驱动组件包括上下设置的伺服电机和电动缸,电动缸的活动端连接有排水口盖,排水口盖包括上下依次设置的盖板、软板和压盖,压盖的下表面连接有加强承压板。本实用新型的有益效果是:通过驱动组件驱动排水口盖上下移动控制排水,在伺服电机的作用下,可以对排水量精准调节,提高排水控制效果,同时,排水口盖的抗压能力强,通过压盖上设置的加强承压板,可以提高其水承压能力,避免受冲击损坏,整个装置结构稳定,可以牢固安装在水箱上,可以能够消除人为操作对排水量的影响,维持稳定的排水量。


