授权公布号:CN212126665U
一种瓷砖用竖放装置
有效
申请
2020-04-06
申请公布
1970-01-01
授权
2020-12-11
预估到期
2030-04-06
| 申请号 | CN202020487330.9 |
| 申请日 | 2020-04-06 |
| 授权公布号 | CN212126665U |
| 授权公告日 | 2020-12-11 |
| 分类号 | B65G47/24;B65G13/06 |
| 分类 | 输送;包装;贮存;搬运薄的或细丝状材料; |
| 申请人名称 | 广东昊晟陶瓷有限公司 |
| 申请人地址 | 广东省清远市清新区禾云镇云龙陶瓷产业基地A区3号 |
专利法律状态
2020-12-11
授权
状态信息
授权
摘要
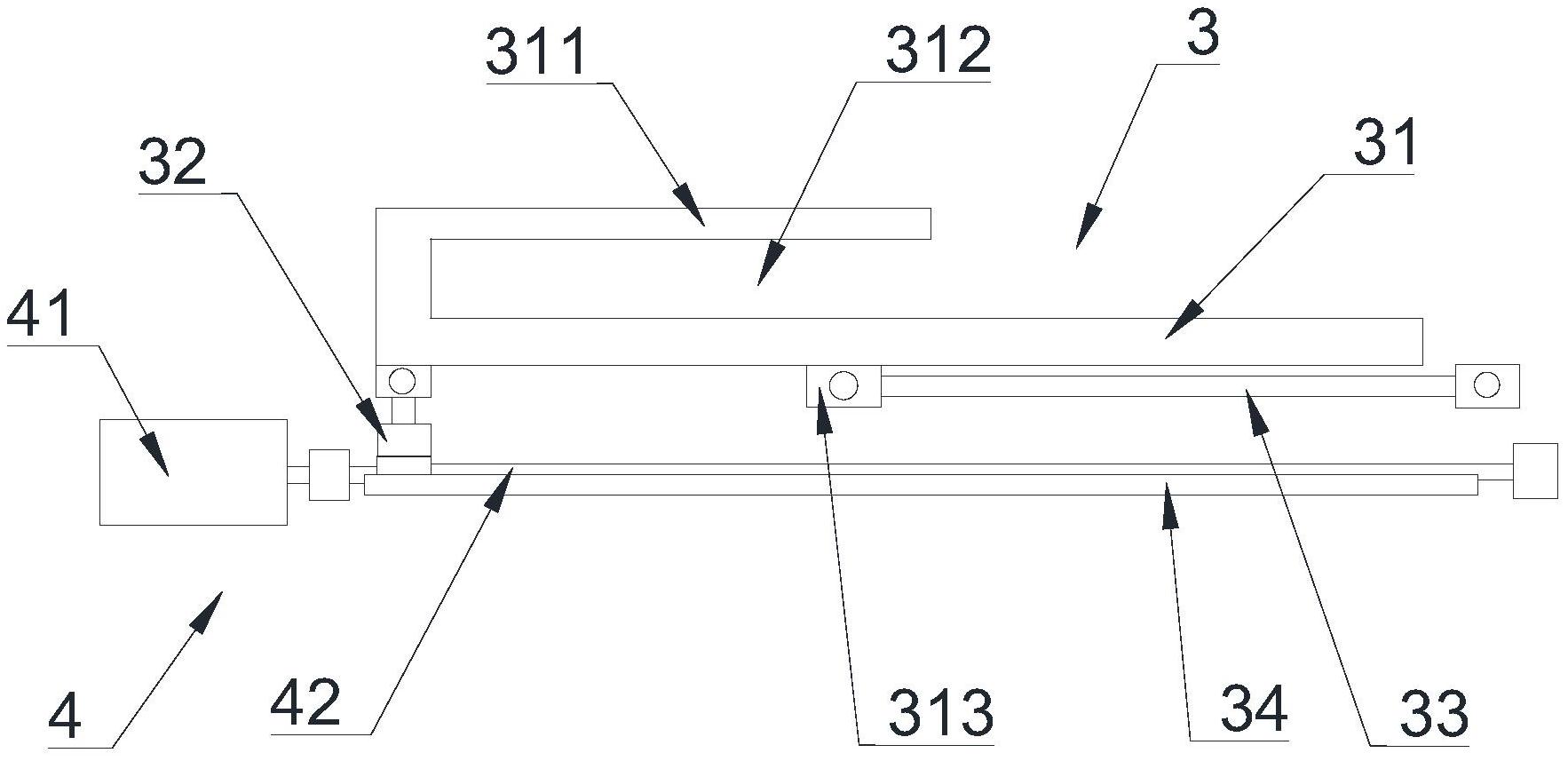
本实用新型属于瓷砖生产设备领域,其公开了一种瓷砖用竖放装置,包括机架,所述机架上设有输送单元、用于将输送单元上瓷砖由横放状态转换成竖放状态的竖放单元,其特征在于,所述竖放单元包括多个短端垂直于水平面向上布置的L形放置架,所述放置架长端和短端的交接处铰接在一设置在机架上的滑块上,所述放置架长端的中部通过一铰接杆铰接在机架远离放置架短端的一侧上,所述放置架与所述铰接杆的一端铰接,所述滑块通过一设置在机架上的驱动单元驱动沿着垂直于输送辊输送的方向往复滑动。该瓷砖用竖放装置结构简单,在需要将瓷砖转运时,有效地将输送单元上的横放输送的瓷砖转换为竖直状态,方便工作人员取拿,降低工作人员的操作难度。


