授权公布号:CN211302442U
一种喷雾塔布袋粉尘转浆回收装置
有效
申请
2019-11-06
申请公布
1970-01-01
授权
2020-08-21
预估到期
2029-11-06
| 申请号 | CN201921909455.X |
| 申请日 | 2019-11-06 |
| 授权公布号 | CN211302442U |
| 授权公告日 | 2020-08-21 |
| 分类号 | B01D46/48;B01D46/04 |
| 分类 | 一般的物理或化学的方法或装置; |
| 申请人名称 | 佛山市阳光陶瓷有限公司 |
| 申请人地址 | 广东省佛山市三水区白坭镇白金大道(F2、F3、F4、F5) |
专利法律状态
2020-08-21
授权
状态信息
授权
摘要
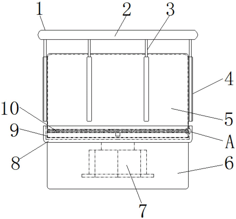
本实用新型公开了一种喷雾塔布袋粉尘转浆回收装置,包括回收装置主体,所述回收装置主体上设有固定底座、并且固定底座内壁固定有振动马达,所述振动马达一端连接有连接固定盘、并且连接固定盘上开设有固定凹槽,所述固定凹槽内壁连接有盛放桶、且盛放桶外壁固定有第二连接杆,所述第二连接杆上连接有第一连接杆、并且第一连接杆另一端设有连接固定环。该喷雾塔布袋粉尘转浆回收装置设有接固定盘通过固定凹槽与盛放桶为卡合连接,方便盛放桶的底端通过连接固定盘上开设的固定凹槽与固定底座连接,从而方便固定底座内设有的振动马达带动盛放桶振动的同时,盛放桶上固定的连接固定环带动布袋上振动,进而可以使布袋上的粉尘可以被抖落在盛放桶内。


