授权公布号:CN109114551B
一种节能窑炉喷枪
有效
申请
2018-07-16
申请公布
2019-01-01
授权
2020-02-18
预估到期
2038-07-16
| 申请号 | CN201810780019.0 |
| 申请日 | 2018-07-16 |
| 申请公布号 | CN109114551A |
| 申请公布日 | 2019-01-01 |
| 授权公布号 | CN109114551B |
| 授权公告日 | 2020-02-18 |
| 分类号 | F23D14/00;F23D14/46;F23D14/48 |
| 分类 | 燃烧设备;燃烧方法; |
| 申请人名称 | 广东能强陶瓷有限公司 |
| 申请人地址 | 广东省佛山市禅城区南庄镇贺丰管理区 |
专利法律状态
2020-02-18
授权
状态信息
授权
2019-01-25
实质审查的生效
状态信息
实质审查的生效IPC(主分类):F23D 14/00
2019-01-01
公布
状态信息
公开
摘要
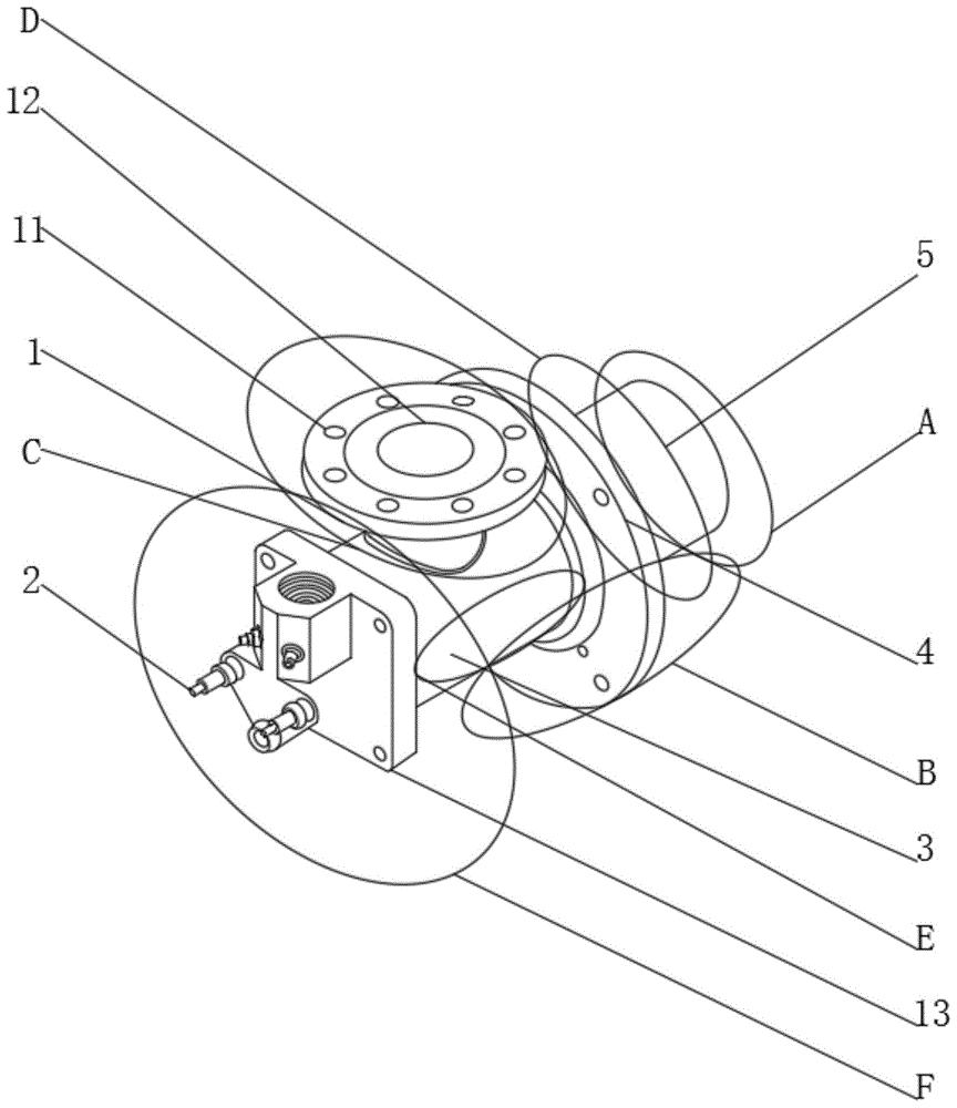
本发明公开了一种节能窑炉喷枪,包括窑炉喷枪喷口,所述窑炉喷枪喷口的外表面固定安装有喷头保护机构,所述窑炉喷枪喷口的两端外表面均固定安装有喷管机构,所述窑炉喷枪喷口的一侧外表面固定连接有固定套环,所述固定套环的前端外表面固定连接有备用打火枪,所述固定套环的一侧外表面固定连接有燃烧舱,所述燃烧舱的前端中部外表面固定安装有固定机构,所述燃烧舱的上端外表面固定安装有喷枪阀门管,所述喷枪阀门管的外表面固定连接有防漏气机构。本发明通过防漏气机构,可很好的防止煤气泄露,通过喷管机构,可自行调节喷头从那个方向喷出,通过喷头保护机构,方便人们拆卸清理内部黑垢,使窑炉喷枪装置更加完善。


