授权公布号:CN216659327U
一种喷墨打印机自动加墨装置
有效
申请
2021-12-31
申请公布
1970-01-01
授权
2022-06-03
预估到期
2031-12-31
| 申请号 | CN202123452052.7 |
| 申请日 | 2021-12-31 |
| 授权公布号 | CN216659327U |
| 授权公告日 | 2022-06-03 |
| 分类号 | B41J2/175 |
| 分类 | 印刷;排版机;打字机;模印机〔4〕; |
| 申请人名称 | 广东金牌陶瓷有限公司 |
| 申请人地址 | 广东省佛山市三水区白坭镇“国家火炬计划佛山电子电器产业基地”南区135号(F2) |
专利法律状态
2022-06-03
授权
状态信息
授权
摘要
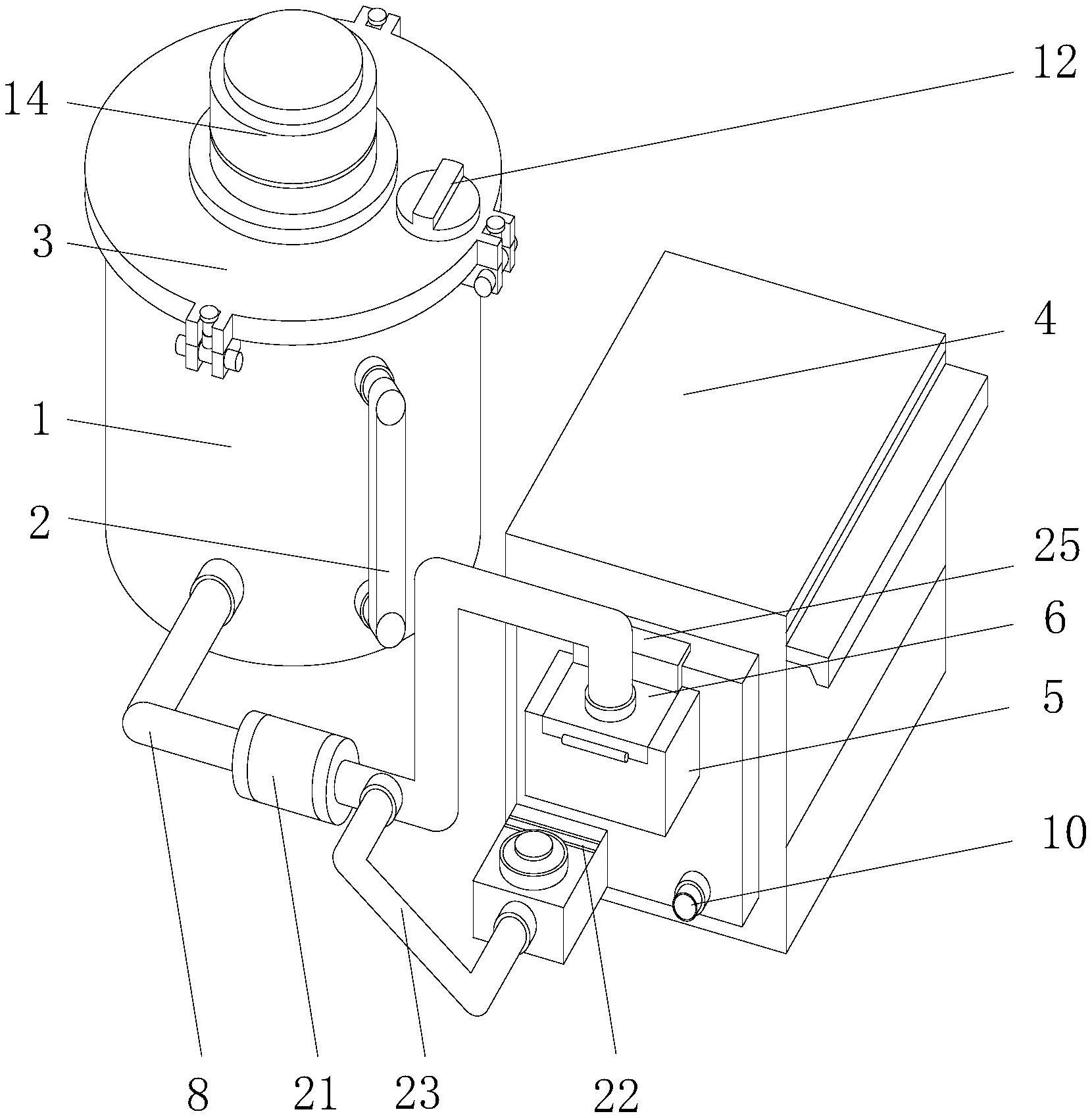
本实用新型公开了一种喷墨打印机自动加墨装置,该自动加墨装置旨在解决现在的喷墨打印机用墨量大,人工加墨不方便的技术问题。该自动加墨装置包括墨桶、安装于所述墨桶上端的顶盖、设置于所述墨桶侧部的喷墨机本体、安装于所述喷墨机本体的加墨机构。该自动加墨装置采用外置的墨桶配合加墨机构内设置的液位电眼实现自动加墨的工作,当二号电眼检测到墨水低过指定液位时则开始加注,节省了工人查看的环节,一号电眼检测到墨水顶端液面,防止过量加注,而且由于外置墨桶的容量比打印机内设加墨机构的容量大得多,也减少工作加墨的次数,降低工作的工作量,安装在墨桶上的液位计可以实时检测桶内墨水的剩余量,方便及时补充。


