授权公布号:CN210504541U
一种高效的瓷砖翻转装置
有效
申请
2019-07-31
申请公布
1970-01-01
授权
2020-05-12
预估到期
2029-07-31
| 申请号 | CN201921218384.9 |
| 申请日 | 2019-07-31 |
| 授权公布号 | CN210504541U |
| 授权公告日 | 2020-05-12 |
| 分类号 | B65G47/248;B65B35/58 |
| 分类 | 输送;包装;贮存;搬运薄的或细丝状材料; |
| 申请人名称 | 佛山市金舵陶瓷有限公司 |
| 申请人地址 | 广东省佛山市禅城区南庄镇龙津乡穗丰工业区 |
专利法律状态
2020-05-12
授权
状态信息
授权
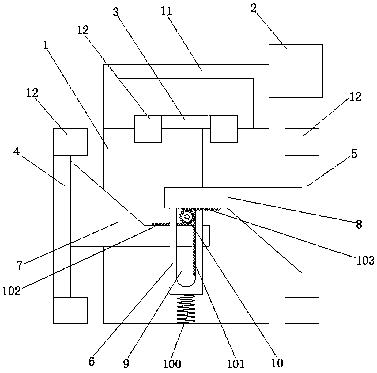
摘要
本实用新型公开了一种高效的瓷砖翻转装置,包括支撑底板和伺服电机,所述支撑底板的前侧设置有托架,左右两侧分别设置有左夹架和右夹架,托架上固定有第一滑动杆,且第一滑动杆上开设有滑槽,滑槽内齿连接有主齿轮,第一滑动杆的上方和下方分别有第二滑动杆和第三滑动杆,第二滑动杆和第三滑动杆均通过齿传动连接主齿轮,支撑底板的底部固定安装有支撑架,支撑架的前端一侧传动连接伺服电机,通过输送机构将瓷砖导入到支撑底板上,伺服电机将支撑底板翻转过程中,托架、左夹架和右夹架由于瓷砖的重力将其夹住,翻转过后托架失去压力后松开,把瓷砖通过翻面,从而实现对瓷砖进行机械化翻转,其翻转方便且工作效率高。


