授权公布号:CN208616814U
一种瓷砖自动翻转装置
有效
申请
2018-07-23
申请公布
1970-01-01
授权
2019-03-19
预估到期
2028-07-23
| 申请号 | CN201821162674.1 |
| 申请日 | 2018-07-23 |
| 授权公布号 | CN208616814U |
| 授权公告日 | 2019-03-19 |
| 分类号 | B65G47/252;B65G49/08 |
| 分类 | 输送;包装;贮存;搬运薄的或细丝状材料; |
| 申请人名称 | 佛山高明顺成陶瓷有限公司 |
| 申请人地址 | 广东省佛山市高明区三洲工业开发区 |
专利法律状态
2019-03-19
授权
状态信息
授权
摘要
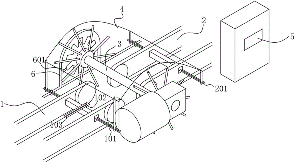
一种瓷砖自动翻转装置,包括进料带、出料带、翻面装置、挡棚、控制装置和防护架。本实用新型通过采用翻面装置、挡棚和控制装置等元件,为用户提供了一种能精准快速对瓷砖进行翻面,还能防止瓷砖飞出造成瓷砖破损,还能减少了装置的占地面积,还大大减少了装置成本的瓷砖自动翻转装置。


