授权公布号:CN217963052U
一种仿青砖的喷料装置
有效
申请
2022-07-28
申请公布
1970-01-01
授权
2022-12-06
预估到期
2032-07-28
| 申请号 | CN202221973889.8 |
| 申请日 | 2022-07-28 |
| 授权公布号 | CN217963052U |
| 授权公告日 | 2022-12-06 |
| 分类号 | B05B9/04;B05B12/00 |
| 分类 | 一般喷射或雾化;对表面涂覆液体或其他流体的一般方法〔2〕; |
| 申请人名称 | 广宁广陶陶瓷有限公司 |
| 申请人地址 | 广东省肇庆市广宁县南街镇本策村委会东乡路段 |
专利法律状态
2022-12-06
授权
状态信息
授权
摘要
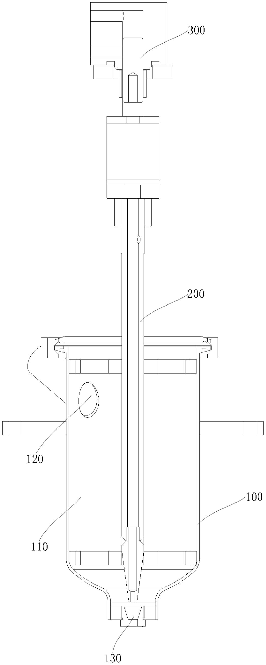
本申请提供了一种仿青砖的喷料装置,涉及喷涂技术领域,其技术方案要点是:包括:壶体,所述壶体内设置有空腔,所述壶体开设有与所述空腔连通的进料口以及出料口;控制棒,所述控制棒活动设置在所述出料口内,所述控制棒的尺寸与所述出料口的尺寸匹配;升降部件,所述升降部件设置在所述壶体外,且与所述控制棒连接,所述升降部件带动所述控制棒在所述出料口内活动。本申请提供的一种仿青砖的喷料装置具有喷涂控制方便的优点。


