授权公布号:CN214419214U
一种外墙砖开槽加工装置
有效
申请
2020-12-11
申请公布
1970-01-01
授权
2021-10-19
预估到期
2030-12-11
| 申请号 | CN202022942791.3 |
| 申请日 | 2020-12-11 |
| 授权公布号 | CN214419214U |
| 授权公告日 | 2021-10-19 |
| 分类号 | B28D1/18;B28D7/02;B28D7/00;B01D29/01 |
| 分类 | 加工水泥、黏土或石料; |
| 申请人名称 | 晋江腾达陶瓷有限公司 |
| 申请人地址 | 福建省泉州市晋江市安海镇菌柄工业区 |
专利法律状态
2021-10-19
授权
状态信息
授权
摘要
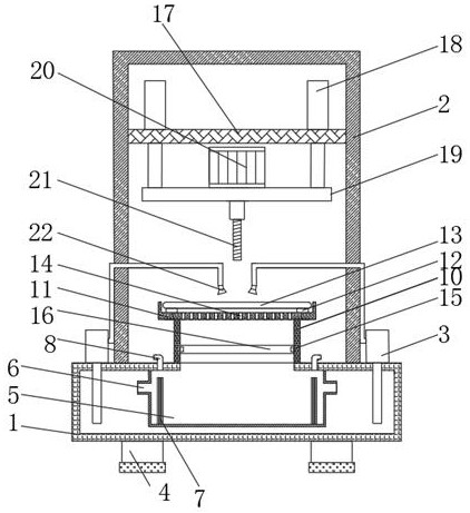
本实用新型公开了一种外墙砖开槽加工装置,包括底箱,所述底箱的顶部固定安装有机架,所述底箱顶部的两侧均固定安装有水泵,所述水泵的进水端贯穿底箱的顶部并延伸至底箱的内部。该外墙砖开槽加工装置,通过方形管、工作台、下水口、凸型滑块、过滤网结构、第一磁吸板与第二磁吸板的配合使用,实现了对废水的过滤效果,避免废水中的粉尘直接进入清洁水箱内部,提供了水循环时水的清洁度,从而防止水中含有粉尘对相关结构的腐蚀性,也延长了其使用寿命,同时,过滤网结构通过第二磁吸板与第一磁吸板之间的磁性吸附进行固定,实现过滤网结构的磁吸式安装,即可拆卸式安装。


