授权公布号:CN213450008U
一种推拉窗下滑结构
有效
申请
2020-06-01
申请公布
1970-01-01
授权
2021-06-15
预估到期
2030-06-01
| 申请号 | CN202020978206.2 |
| 申请日 | 2020-06-01 |
| 授权公布号 | CN213450008U |
| 授权公告日 | 2021-06-15 |
| 分类号 | E06B3/46;E06B7/22 |
| 分类 | 一般门、窗、百叶窗或卷辊遮帘;梯子; |
| 申请人名称 | 佛山市亮阁建材有限公司 |
| 申请人地址 | 广东省佛山市南海区狮山镇官窑新和村布北西村民小组“庙边地”公路南A车间首层 |
专利法律状态
2021-06-15
授权
状态信息
授权
摘要
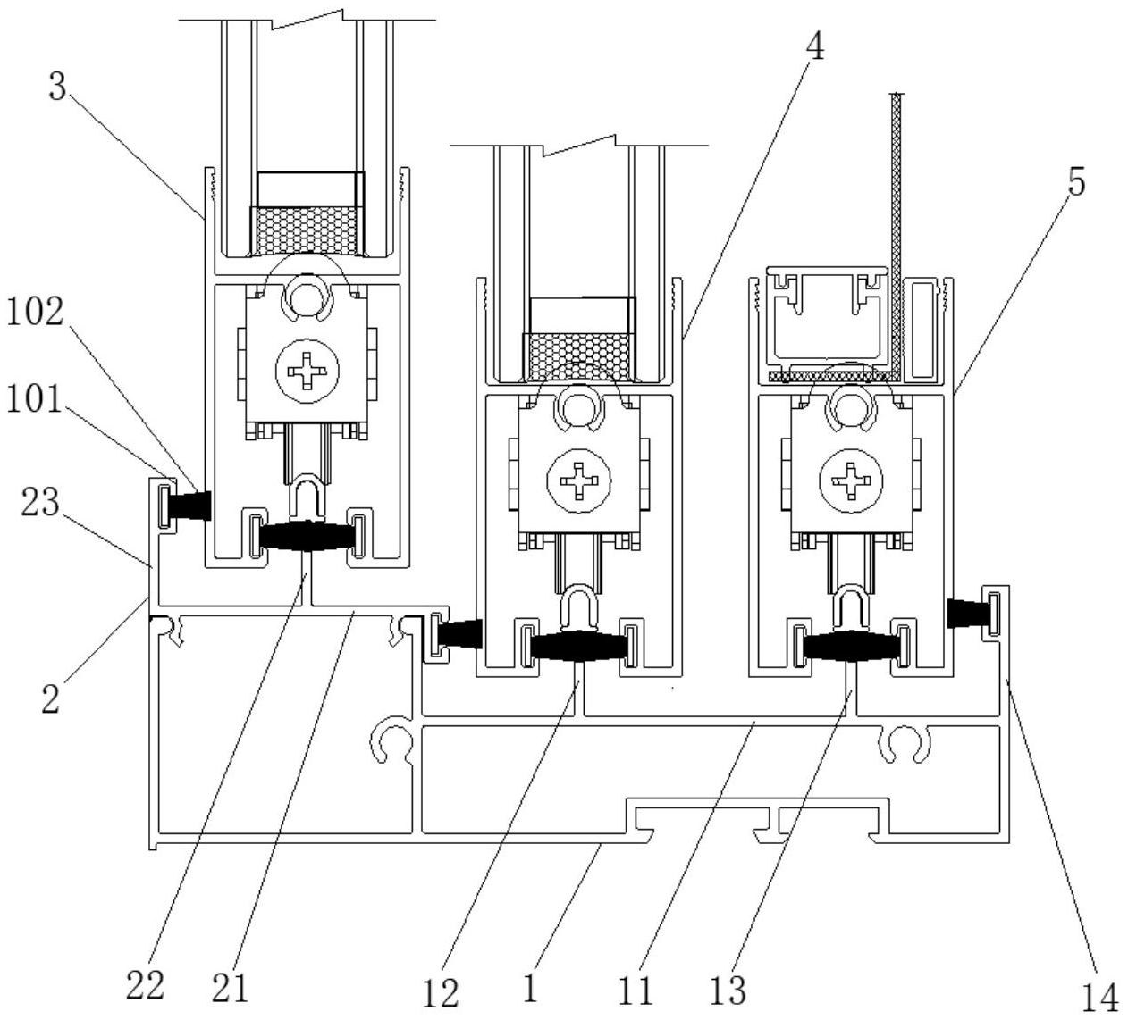
本实用新型公开了一种推拉窗下滑结构,包括下滑型材和内分体,所述下滑型材的右侧设置有第一支撑梁,所述内分体卡接在下滑型材的顶部左侧,该内分体上设置有第二支撑梁,所述第二支撑梁的高度高于第一支撑梁的高度,所述第一支撑梁上设置有第一轨道和第二轨道,所述第二支撑梁上设置有第三轨道,将室内的第三轨道与室外轨道采用分体式,解决了高低轨道所有门页需从室外进行安装的难题,所有门页均从室内进行安装,既保证了推拉窗的排水性能,又保证产品的安装方便性能;通过在第二轨道侧面设置外档边,室外门页从室外无法取出,保证门窗的安全性;同时室内室外、光企下方均带有毛条,达到多重密封,气密性效果更好。


