授权公布号:CN219138815U
一种外开平开窗的密封结构
有效
申请
2023-01-05
申请公布
1970-01-01
授权
2023-06-06
预估到期
2033-01-05
| 申请号 | CN202320020009.3 |
| 申请日 | 2023-01-05 |
| 授权公布号 | CN219138815U |
| 授权公告日 | 2023-06-06 |
| 分类号 | E06B3/263;E06B3/62;E06B7/23;E06B7/28 |
| 分类 | 一般门、窗、百叶窗或卷辊遮帘;梯子; |
| 申请人名称 | 佛山市亮阁建材有限公司 |
| 申请人地址 | 广东省佛山市南海区狮山镇官窑新和村布北西村民小组“庙边地”公路南A车间首层 |
专利法律状态
2023-06-06
授权
状态信息
授权
摘要
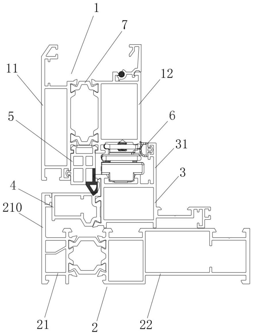
本实用新型公开了一种外开平开窗的密封结构,包括窗扇体和窗框体,窗扇体包括外扇断桥型材和内扇断桥型材,窗框体包括外框断桥型材和内框断桥型材,通过在第一密封胶条靠近室内的侧面与所述转换框断桥型材抵接,第一密封胶条靠近室内的一侧下端设有三角压端,三角压端的侧边以及低端均与所述隔断层抵接,实现三道密封结构,并配合转换框断桥型材上的第二密封条与内扇断桥型材抵接,实现四重密封效果,密封性能相比传统外开门窗更好。


