授权公布号:CN213760823U
一种液态金属过滤净化装置
有效
申请
2020-08-05
申请公布
1970-01-01
授权
2021-07-23
预估到期
2030-08-05
| 申请号 | CN202021610751.2 |
| 申请日 | 2020-08-05 |
| 授权公布号 | CN213760823U |
| 授权公告日 | 2021-07-23 |
| 分类号 | B01D35/18;B01D33/073;B01D33/80 |
| 分类 | 一般的物理或化学的方法或装置; |
| 申请人名称 | 广东华昌集团有限公司 |
| 申请人地址 | 广东省佛山市南海区狮山镇长虹岭工业园(二期)虹岭四路3号 |
专利法律状态
2021-07-23
授权
状态信息
授权
摘要
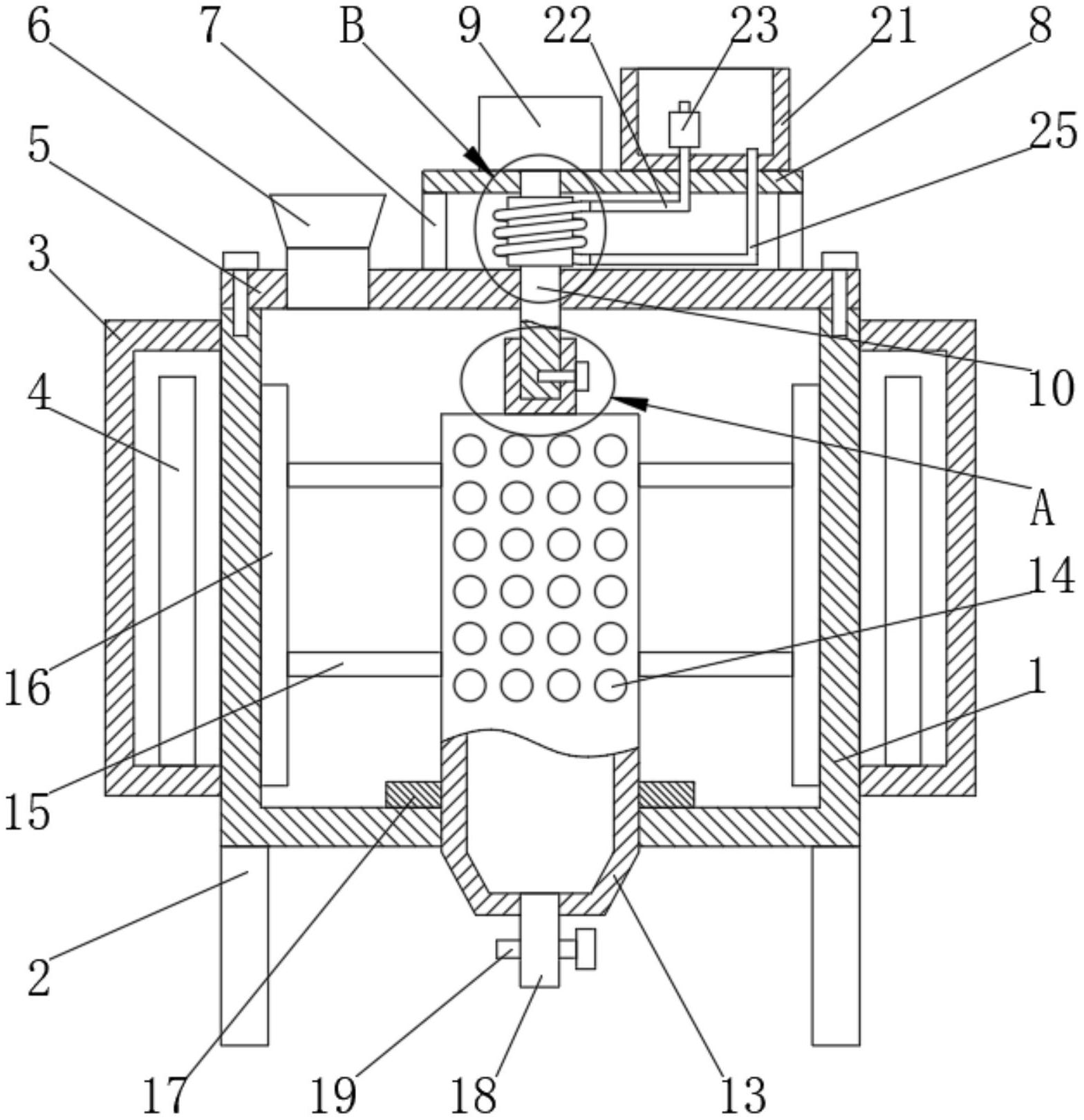
本实用新型涉及铝加工技术领域,尤其涉及一种液态金属过滤净化装置,解决铝溶液容易在过滤装置内凝固、电动机转轴导热导致电动机损坏的缺点,包括过滤箱,所述过滤箱的下端焊接有支脚,所述过滤箱的外侧固定套接有夹套,所述夹套内设置有加热棒,所述过滤箱的上端通过螺钉连接有箱盖,所述箱盖内固定套接有进液斗,所述箱盖的上端焊接有支撑杆,所述支撑杆的上端焊接有支撑板。本实用新型通过在过滤箱外设置夹套,夹套内设置加热棒,使得过滤箱被加热,铝溶液不易在过滤箱内凝固,同时在过滤筒外设置搅拌杆对铝溶液进行搅拌,使得铝溶液在过滤箱内受热均匀,始终保持熔融状态,保证过滤正常进行。


