授权公布号:CN217760675U
一种高效型铝合金推拉窗
有效
申请
2022-07-20
申请公布
1970-01-01
授权
2022-11-08
预估到期
2032-07-20
| 申请号 | CN202221878395.1 |
| 申请日 | 2022-07-20 |
| 授权公布号 | CN217760675U |
| 授权公告日 | 2022-11-08 |
| 分类号 | E06B3/46;E05D13/00 |
| 分类 | 一般门、窗、百叶窗或卷辊遮帘;梯子; |
| 申请人名称 | 广东雍兴智能家居科技有限公司 |
| 申请人地址 | 广东省佛山市南海区狮山镇红星村委会路段的地段一自编1号厂房 |
专利法律状态
2022-11-08
授权
状态信息
授权
摘要
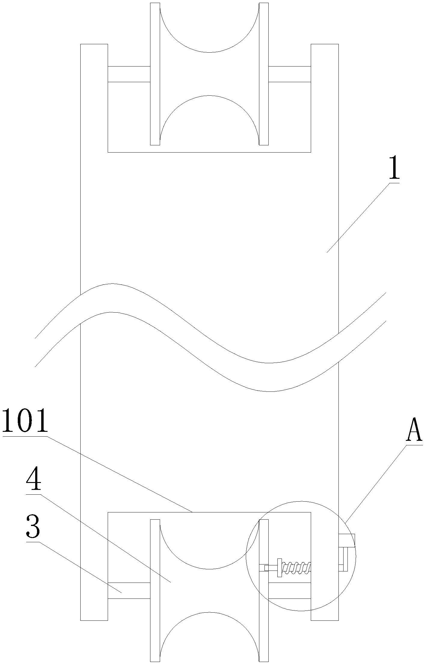
本实用新型涉及一种高效型铝合金推拉窗,属于推拉窗技术领域。其主要针对现有推拉窗密封性不好的问题,提出如下技术方案:包括铝合金窗体本体、玻璃、转轴、滑轮和用于固定滑轮的弹性组件;铝合金窗体本体纵向两侧均设置有安装槽;玻璃内嵌设置在铝合金窗体本体中心;转轴转动设置在安装槽前后两侧内壁上,滑轮设置在转轴上,滑轮突出安装槽,下方的滑轮横向一侧设置有限位孔;弹性组件设置在铝合金窗体本体上,弹性组件的两端分别位于安装槽内外,弹性组件与滑轮滑动连接,弹性组件插入限位孔内。本实用新型使用时密封性好,保温效果好。


