授权公布号:CN218650910U
一种带有保护结构的智能家居镜柜
有效
申请
2022-09-13
申请公布
1970-01-01
授权
2023-03-21
预估到期
2032-09-13
| 申请号 | CN202222435587.1 |
| 申请日 | 2022-09-13 |
| 授权公布号 | CN218650910U |
| 授权公告日 | 2023-03-21 |
| 分类号 | A47B67/00;A47B96/00 |
| 分类 | 家具;家庭用的物品或设备;咖啡磨;香料磨;一般吸尘器; |
| 申请人名称 | 上海拉迷家具有限公司 |
| 申请人地址 | 上海市青浦区白鹤镇沈家浜路168号 |
专利法律状态
2023-03-21
授权
状态信息
授权
摘要
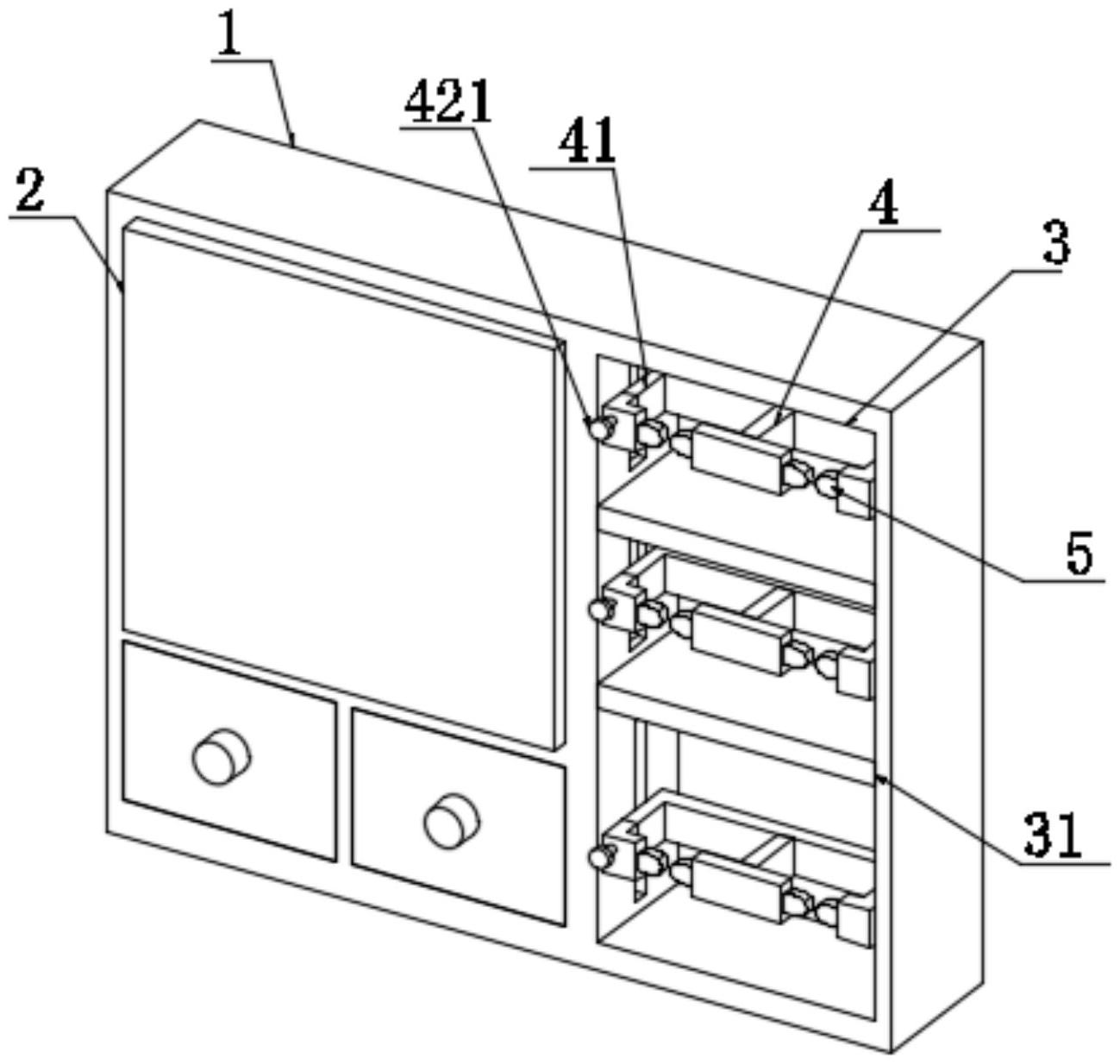
本实用新型公开了一种带有保护结构的智能家居镜柜,包括镜柜主体,镜柜主体前部一侧安装有镜子,镜柜主体前部一侧开设有储存槽,储存槽内中部安装有两个分隔板,且分隔板将储存槽分割成三个储存室,每个储存室内均滑动连接保护框,保护框包括连接框和限位框,连接框前部安装有限位框,限位框前部两侧开设有通槽,且通槽两侧均安装有限位组件,本实用新型的有益效果是:通过设置在储存槽内的保护框结构,可有效地保护摆放在储存槽内的玻璃瓶,在受到撞击时,玻璃瓶受到保护框的限位,使得玻璃瓶不会倾倒,设置的限位组件,在方便存取玻璃瓶的同时,也能够起到限位遮挡的作用,同时设置的保护框可调节,也利于根据玻璃瓶的需求调整保护框的位置。


