授权公布号:CN209109666U
一种板材加工用粉尘清除机
有效
申请
2018-11-22
申请公布
1970-01-01
授权
2019-07-16
预估到期
2028-11-22
| 申请号 | CN201821928963.8 |
| 申请日 | 2018-11-22 |
| 授权公布号 | CN209109666U |
| 授权公告日 | 2019-07-16 |
| 分类号 | B08B1/02;B08B5/04 |
| 分类 | 清洁; |
| 申请人名称 | 合肥市瑞丽宜家家居有限公司 |
| 申请人地址 | 安徽省合肥市庐阳区大杨镇大杨产业园大创路 |
专利法律状态
2019-07-16
授权
状态信息
授权
摘要
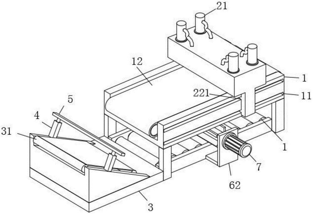
本实用新型公开了一种板材加工用粉尘清除机,包括机架与吸尘装置,机架的上表面与吸尘装置滑动连接,机架的内部通过转轴转动设有第一传送带,吸尘装置位于第一传送带的上表面;板材灰尘较多的一侧在清理干净后通过第一传送带的运输,进入第二传送带上,并通过清洁杆对板材的另一侧灰尘进行清除,达到清灰的目的;活动板通过对称设置滑块滑动设置在滑轨的内部,使得活动板上方的活动储架可在机架的上表面进行活动,便于调整位置来进行吸尘步骤;当缓冲挡杆受到板材的压力向下压时,通过弹簧的缓冲力使得板材能稳定的下滑,防止速度过快,造成板材表面受损。


